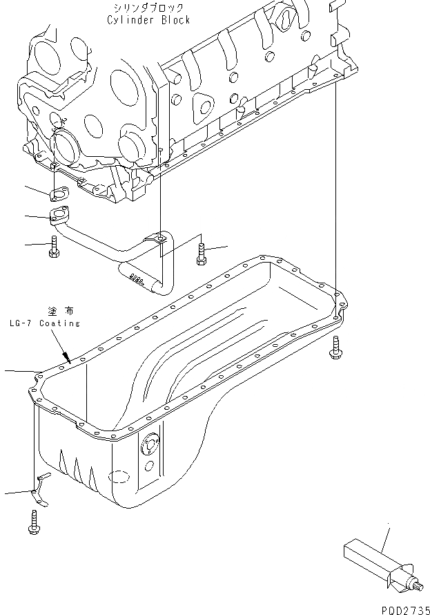
Запчасти Komatsu S6D102E-1X МАСЛЯНЫЙ ПОДДОН И ВСАСЫВАЮЩИЙ ПАТРУБОК (БЕЗ ДРЕНАЖН. ЗАГЛУШКА)(№9-) ДВИГАТЕЛЬ

Схема запчастей Komatsu S6D102E-1X - МАСЛЯНЫЙ ПОДДОН И ВСАСЫВАЮЩИЙ ПАТРУБОК (БЕЗ ДРЕНАЖН. ЗАГЛУШКА)(№9-) ДВИГАТЕЛЬ
1
2
3
4
5
6
7
FIT
1:1
100%

Артикул

Название

Примечание

Количество

1

6735-51-5531

TUBE,SUCTION

SN: 26200929-UP

1шт.

2

6732-21-5510

GASKET

SN: 26200929-UP

1шт.

3

6732-71-3220

BOLT

SN: 26200929-UP

1шт.

4

6732-21-6630

BOLT

SN: 26200929-UP

2шт.

5

6735-21-5140

PAN,OIL

SN: 26200929-UP

1шт.

6

6732-21-5270

PLATE

SN: 26222494-UP

1шт.

7

09920-00150

LIQUID GASKET,LG-7¤ 150G

SN: 26200929-UP

-2шт.

Выбрано товаров: 7