Запчасти Komatsu S6D105-1AH СИСТЕМА СМАЗКИ МАСЛООХЛАДИТЕЛЬ (МОРОЗОУСТОЙЧИВ. СПЕЦИФИКАЦИЯ.) СИСТЕМА СМАЗКИ МАСЛ. СИСТЕМА

Схема запчастей Komatsu S6D105-1AH - СИСТЕМА СМАЗКИ МАСЛООХЛАДИТЕЛЬ (МОРОЗОУСТОЙЧИВ. СПЕЦИФИКАЦИЯ.) СИСТЕМА СМАЗКИ МАСЛ. СИСТЕМА
FIT
1:1
100%

Артикул

Название

Примечание

Количество

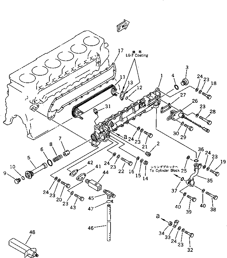
1

6136-61-2211

COVER ASS'Y,OIL COOLER

SN: 94066-UP

1шт.

|1

07043-00415

PLUG,(NOT SHOWN)

SN: 94066-UP

1шт.

2

02720-40607

PLUG

SN: 94066-UP

2шт.

3

6138-61-2180

PLUG

SN: 94066-UP

1шт.

4

6136-61-2190

O-RING

SN: 94066-UP

1шт.

5

6136-61-2180

CASE,VALVE

SN: 94066-UP

1шт.

6

6136-61-2150

O-RING

SN: 94066-UP

1шт.

7

6136-61-2170

VALVE,THERMO

SN: 94066-UP

1шт.

8

6136-61-2160

SPRING

SN: 94066-UP

1шт.

9

6136-61-2140

PLUG

SN: 94066-UP

1шт.

10

07000-02018

O-RING

SN: 94066-UP

1шт.

11

600-651-1411

ELEMENT,OIL COOLER

SN: 94066-UP

1шт.

12

6136-61-2190

O-RING

SN: 94066-UP

2шт.

13

6136-61-2290

GASKET

SN: 94066-UP

2шт.

14

01580-10806

NUT

SN: 94066-UP

4шт.

15

01602-20825

WASHER,SPRING

SN: 94066-UP

4шт.

16

01641-20812

WASHER

SN: 94066-UP

4шт.

17

6136-61-2811

GASKET

SN: 94066-UP

1шт.

18

01435-20820

BOLT

SN: 106825-UP

4шт.

|18

0

BOLT

SN: 94066-106824

4шт.

19

01435-20825

BOLT

SN: 106825-UP

1шт.

|19

0

BOLT

SN: 94066-106824

1шт.

20

01435-20825

BOLT

SN: 106825-UP

2шт.

|20

0

BOLT

SN: 94066-106824

2шт.

21

01435-20830

BOLT

SN: 106825-UP

11шт.

|21

0

BOLT

SN: 94066-106824

11шт.

22

01435-20865

BOLT

SN: 106825-UP

1шт.

|22

0

BOLT

SN: 94066-106824

1шт.

23

01602-00825

WASHER,SPRING

SN: 94066-106824

24шт.

24

01640-20816

WASHER

SN: 94066-106824

20шт.

25

01640-20816

WASHER

SN: 94066-UP

1шт.

26

600-815-6470

HEATER,BLOCK

SN: 94066-UP

1шт.

27

6136-61-6810

GASKET

SN: 94066-UP

1шт.

28

01435-20875

BOLT

SN: 106825-UP

2шт.

|28

0

BOLT

SN: 94066-106824

2шт.

29

01435-20820

BOLT

SN: 106825-UP

2шт.

|29

0

BOLT

SN: 94066-106824

2шт.

30

01602-00825

WASHER,SPRING

SN: 94066-106824

2шт.

31

07042-00415

PLUG

SN: 94066-UP

1шт.

32

01435-20845

BOLT

SN: 106825-UP

1шт.

|32

0

BOLT

SN: 94066-106824

1шт.

33

6136-11-8510

BRACKET

SN: 94066-UP

1шт.

34

6130-12-1961

SPACER

SN: 94066-UP

1шт.

35

6136-51-6311

PIPE,OIL

SN: 94066-UP

1шт.

36

07000-23022

O-RING

SN: 94066-UP

1шт.

37

07000-63028

O-RING

SN: 94066-UP

1шт.

38

01435-20825

BOLT

SN: 106825-UP

1шт.

|38

0

BOLT

SN: 94066-106824

1шт.

39

01435-20835

BOLT

SN: 106825-UP

1шт.

|39

0

BOLT

SN: 94066-106824

1шт.

40

01602-00825

WASHER,SPRING

SN: 94066-106824

2шт.

41

6136-61-9720

PLATE

SN: 94066-UP

1шт.

42

6136-61-8810

GASKET

SN: 94066-UP

1шт.

43

01435-20860

BOLT

SN: 106825-UP

2шт.

|43

0

BOLT

SN: 94066-106824

2шт.

44

6136-61-8670

NIPPLE

SN: 94066-UP

1шт.

45

6140-61-6512

VALVE

SN: 94066-UP

1шт.

46

6140-61-6612

HOSE

SN: 94066-UP

1шт.

47

6144-61-6510

CLIP

SN: 94066-UP

1шт.

48

09920-00150

LIQUID GASKET,LG-7 150G

SN: 94066-UP

-2шт.

1

6136-61-2211

COVER ASS'Y,OIL COOLER

SN: 94066-UP

1шт.

|1

07043-00415

PLUG,(NOT SHOWN)

SN: 94066-UP

1шт.

2

02720-40607

PLUG

SN: 94066-UP

2шт.

3

6138-61-2180

PLUG

SN: 94066-UP

1шт.

4

6136-61-2190

O-RING

SN: 94066-UP

1шт.

5

6136-61-2180

CASE,VALVE

SN: 94066-UP

1шт.

6

6136-61-2150

O-RING

SN: 94066-UP

1шт.

7

6136-61-2170

VALVE,THERMO

SN: 94066-UP

1шт.

8

6136-61-2160

SPRING

SN: 94066-UP

1шт.

9

6136-61-2140

PLUG

SN: 94066-UP

1шт.

10

07000-02018

O-RING

SN: 94066-UP

1шт.

11

600-651-1411

ELEMENT,OIL COOLER

SN: 94066-UP

1шт.

12

6136-61-2190

O-RING

SN: 94066-UP

2шт.

13

6136-61-2290

GASKET

SN: 94066-UP

2шт.

14

01580-10806

NUT

SN: 94066-UP

4шт.

15

01602-20825

WASHER,SPRING

SN: 94066-UP

4шт.

16

01641-20812

WASHER

SN: 94066-UP

4шт.

17

6136-61-2811

GASKET

SN: 94066-UP

1шт.

18

01435-20820

BOLT

SN: 106825-UP

4шт.

|18

0

BOLT

SN: 94066-106824

4шт.

19

01435-20825

BOLT

SN: 106825-UP

1шт.

|19

0

BOLT

SN: 94066-106824

1шт.

20

01435-20825

BOLT

SN: 106825-UP

2шт.

|20

0

BOLT

SN: 94066-106824

2шт.

21

01435-20830

BOLT

SN: 106825-UP

11шт.

|21

0

BOLT

SN: 94066-106824

11шт.

22

01435-20865

BOLT

SN: 106825-UP

1шт.

|22

0

BOLT

SN: 94066-106824

1шт.

23

01602-00825

WASHER,SPRING

SN: 94066-106824

24шт.

24

01640-20816

WASHER

SN: 94066-106824

20шт.

25

01640-20816

WASHER

SN: 94066-UP

1шт.

26

600-815-6470

HEATER,BLOCK

SN: 94066-UP

1шт.

27

6136-61-6810

GASKET

SN: 94066-UP

1шт.

28

01435-20875

BOLT

SN: 106825-UP

2шт.

|28

0

BOLT

SN: 94066-106824

2шт.

29

01435-20820

BOLT

SN: 106825-UP

2шт.

|29

0

BOLT

SN: 94066-106824

2шт.

30

01602-00825

WASHER,SPRING

SN: 94066-106824

2шт.

31

07042-00415

PLUG

SN: 94066-UP

1шт.

32

01435-20845

BOLT

SN: 106825-UP

1шт.

|32

0

BOLT

SN: 94066-106824

1шт.

33

6136-11-8510

BRACKET

SN: 94066-UP

1шт.

34

6130-12-1961

SPACER

SN: 94066-UP

1шт.

35

6136-51-6311

PIPE,OIL

SN: 94066-UP

1шт.

36

07000-23022

O-RING

SN: 94066-UP

1шт.

37

07000-63028

O-RING

SN: 94066-UP

1шт.

38

01435-20825

BOLT

SN: 106825-UP

1шт.

|38

0

BOLT

SN: 94066-106824

1шт.

39

01435-20835

BOLT

SN: 106825-UP

1шт.

|39

0

BOLT

SN: 94066-106824

1шт.

40

01602-00825

WASHER,SPRING

SN: 94066-106824

2шт.

41

6136-61-9720

PLATE

SN: 94066-UP

1шт.

42

6136-61-8810

GASKET

SN: 94066-UP

1шт.

43

01435-20860

BOLT

SN: 106825-UP

2шт.

|43

0

BOLT

SN: 94066-106824

2шт.

44

6136-61-8670

NIPPLE

SN: 94066-UP

1шт.

45

6140-61-6512

VALVE

SN: 94066-UP

1шт.

46

6140-61-6612

HOSE

SN: 94066-UP

1шт.

47

6144-61-6510

CLIP

SN: 94066-UP

1шт.

48

09920-00150

LIQUID GASKET,LG-7 150G

SN: 94066-UP

-2шт.

Выбрано товаров: 120