Запчасти Komatsu S6D105-1B ПЕРЕДН. COVER БЛОК ЦИЛИНДРОВ

Схема запчастей Komatsu S6D105-1B - ПЕРЕДН. COVER БЛОК ЦИЛИНДРОВ
FIT
1:1
100%

Артикул

Название

Примечание

Количество

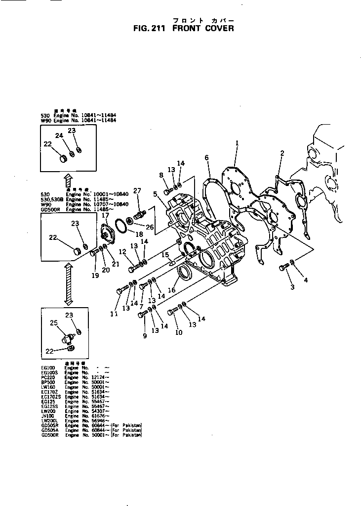
1

6136-21-3120

PLATE,FRONT

SN: 11370-UP

1шт.

2

6136-21-3821

GASKET (K2)

SN: 12003-UP

1шт.

2

0

GASKET (K2)

SN: 11370-12002

1шт.

3

01010-30822

BOLT

SN: 11370-UP

4шт.

4

01602-00825

WASHER,SPRING

SN: 11370-UP

4шт.

5

6136-21-3111

COVER,FRONT

SN: 11394-UP

1шт.

5

0

COVER,FRONT

SN: 11370-11393

1шт.

|$$8

(6136-21-3111,01010-30895)

-1шт.

6

6136-21-3812

GASKET (K2)

SN: .-UP

1шт.

6

0

GASKET (K2)

SN: 11370-.

1шт.

7

01010-30860

BOLT

SN: 11370-UP

10шт.

8

01010-30870

BOLT

SN: 11370-UP

4шт.

9

01010-30880

BOLT

SN: 11370-UP

1шт.

10

01010-30890

BOLT

SN: 11370-UP

1шт.

11

01010-30890

BOLT

SN: 11394-UP

1шт.

11

01010-30895

BOLT

SN: 11370-11393

1шт.

12

01010-30895

BOLT

SN: 11394-UP

1шт.

12

6502-12-1741

BOLT

SN: 11370-11393

1шт.

13

01602-00825

WASHER,SPRING

SN: 11370-UP

22шт.

14

01640-20816

WASHER

SN: 11370-UP

18шт.

15

6136-21-3310

POINTER

SN: 11370-.

1шт.

16

6136-21-3510

SEAL, FRONT (K2)

SN: 11370-UP

1шт.

17

6136-21-3631

COVER,BEARING

SN: 12187-UP

1шт.

17

0

COVER,BEARING

SN: 11370-12186

1шт.

|$$25

(6136-21-3631,6610-71-1911,

-1шт.

|$$26

6136-81-3951)

-1шт.

18

07000-02070

O-RING (K2)

SN: 11370-UP

1шт.

19

01010-30825

BOLT

SN: 11370-UP

4шт.

20

01602-00825

WASHER,SPRING

SN: 11370-UP

4шт.

21

01640-20816

WASHER

SN: 11370-UP

4шт.

22

6136-81-5291

CAP

SN: 11485-UP

1шт.

22

6136-81-5290

CAP

SN: .-11484

1шт.

22

0

CAP

SN: 11370-.

1шт.

23

6130-82-5270

GASKET

SN: 11370-UP

1шт.

25

6136-81-5210

ADAPTER

SN: .-UP

1шт.

26

6610-71-1911

SEAL,OIL

SN: 12187-UP

1шт.

27

6136-81-3951

SHAFT

SN: 12335-UP

1шт.

27

0

SHAFT

SN: 12187-12334

1шт.

|$$39

(6136-81-3951,6136-21-3631,

-1шт.

|$$40

6610-71-1911)

-1шт.

27

6136-81-3910

SHAFT

SN: 11370-12186

1шт.

Выбрано товаров: 41