Запчасти Komatsu S6D105-1B ГОЛОВКА ЦИЛИНДРОВ COVER(№-) ГОЛОВКА ЦИЛИНДРОВ

Схема запчастей Komatsu S6D105-1B - ГОЛОВКА ЦИЛИНДРОВ COVER(№-) ГОЛОВКА ЦИЛИНДРОВ
FIT
1:1
100%

Артикул

Название

Примечание

Количество

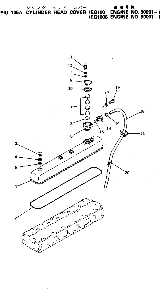
1

6136-11-8150

COVER,HEAD

SN: 50001-UP

1шт.

2

6136-11-8812

O-RING (K1)

SN: .-UP

1шт.

3

6136-11-8120

NUT

SN: 11370-UP

4шт.

4

6136-11-8130

WASHER

SN: 11370-UP

4шт.

5

6136-11-8142

PACKING (K1)

SN: 11370-UP

4шт.

|6

6685-21-7400

BREATHER ASS'Y

SN: 11370-UP

1шт.

6

6685-21-7410

BODY

SN: 11370-UP

1шт.

7

6685-21-7440

SCREEN

SN: 11370-UP

4шт.

8

6685-21-7460

BAFFLE

SN: 11370-UP

1шт.

9

6685-21-7420

COVER

SN: 11370-UP

1шт.

10

6685-21-7430

GASKET (K1)

SN: 11370-UP

1шт.

11

02010-70422

BOLT

SN: .-UP

3шт.

12

02310-10916

WASHER,SPRING

SN: 11370-UP

3шт.

13

02300-10920

WASHER

SN: 11370-UP

3шт.

14

6136-21-7610

PIPE,BREATHER

SN: 11370-UP

1шт.

15

07000-03020

O-RING (K1)

SN: 11370-UP

1шт.

16

02010-70522

BOLT

SN: 11370-UP

2шт.

17

01602-00825

WASHER,SPRING

SN: 11370-UP

2шт.

18

6136-11-8851

HOSE,BREATHER

SN: .-UP

1шт.

19

07280-02523

CLAMP

SN: 11370-UP

1шт.

20

6600-01-5950

CLIP

SN: 11370-UP

1шт.

Выбрано товаров: 21