Запчасти Komatsu S6D105-1C БЛОК ЦИЛИНДРОВ(№-) БЛОК ЦИЛИНДРОВ

Схема запчастей Komatsu S6D105-1C - БЛОК ЦИЛИНДРОВ(№-) БЛОК ЦИЛИНДРОВ
FIT
1:1
100%

Артикул

Название

Примечание

Количество

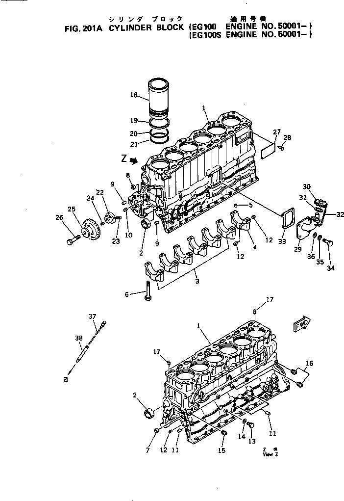
|1

6136-22-1020

CYLINDER BLOCK ASS'Y

SN: 50001-UP

1шт.

1

0

BLOCK,CYLINDER

SN: 50001-UP

1шт.

2

6136-21-1410

BUSHING,CAMSHAFT

SN: 11370-UP

4шт.

3

0

CAP,MAIN METAL

SN: 11370-UP

6шт.

4

0

CAP,MAIN METAL

SN: 11370-UP

1шт.

5

04020-00514

PIN,DOWEL

SN: 11370-UP

1шт.

6

6136-22-1710

BOLT

SN: 50001-UP

14шт.

7

6130-11-1420

PLUG,EXPANSION

SN: 11370-UP

1шт.

8

6130-11-1420

PLUG,EXPANSION

SN: 11370-UP

1шт.

9

6136-21-1911

PIN,DOWEL

SN: 11394-UP

2шт.

10

04025-00512

PIN,SPRING

SN: 11370-UP

1шт.

11

04020-01228

PIN,DOWEL

SN: 11370-UP

4шт.

12

04025-00408

PIN,SPRING

SN: 11370-UP

6шт.

13

07040-11209

PLUG

SN: 11370-UP

1шт.

14

07005-01212

GASKET (K2)

SN: 11370-UP

1шт.

15

07042-50211

PLUG

SN: 11370-UP

2шт.

16

07042-50108

PLUG

SN: 11370-UP

3шт.

17

04025-00820

PIN,SPRING

SN: 11370-UP

2шт.

18

6137-22-2210

LINER,CYLINDER

SN: 50001-UP

6шт.

19

6136-21-2220

SEAL,CREVICE (K2)

SN: 11370-UP

6шт.

20

6136-21-2230

O-RING,UPPER (K2)

SN: 11370-UP

6шт.

21

6136-21-2240

O-RING,LOWER (K2)

SN: 11370-UP

6шт.

22

6136-21-2410

SHAFT,IDLER

SN: 11370-UP

1шт.

23

04025-00316

PIN,SPRING

SN: 11370-UP

1шт.

24

04025-00512

PIN,SPRING

SN: 11370-UP

1шт.

25

6136-21-2420

PLATE,THRUST

SN: 11370-UP

1шт.

26

01010-31275

BOLT

SN: 11370-UP

1шт.

27

09605-01352

PLATE¤ NAME,(LIMITED SUPPLY)

SN: 50001-UP

1шт.

28

04418-02550

SCREW

SN: 11370-UP

4шт.

|29

6137-21-7100

OIL FILLER ASS'Y

SN: 11370-UP

1шт.

29

6137-21-7111

FILLER,OIL

SN: 11370-UP

1шт.

30

6136-21-7120

CAP ASS'Y

SN: 11370-UP

1шт.

31

6136-21-7180

GASKET

SN: 11370-UP

1шт.

32

6136-21-7190

CHAIN

SN: 11370-UP

1шт.

33

6136-21-7811

GASKET (K2)

SN: .-UP

1шт.

34

01010-31030

BOLT

SN: 11370-UP

4шт.

35

01602-01030

WASHER,SPRING

SN: 11370-UP

4шт.

36

01640-21016

WASHER

SN: 11370-UP

4шт.

37

6136-21-5310

GAUGE,OIL

SN: 11370-UP

1шт.

38

6136-21-5410

GUIDE,OIL GAUGE

SN: 11370-UP

1шт.

Выбрано товаров: 40