Запчасти Komatsu S6D105-1EE - -

Схема запчастей Komatsu S6D105-1EE - - -
FIT
1:1
100%

Артикул

Название

Примечание

Количество

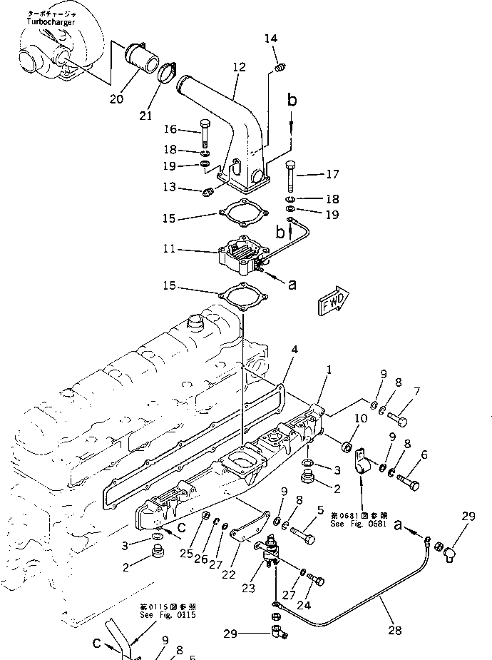
1

6136-11-4123

INTAKE MANIFOLD

SN: 76583-UP

1шт.

2

6114-11-8910

PLUG

SN: 76583-UP

2шт.

3

07005-02216

SEAL

SN: 76583-UP

2шт.

4

6136-11-4811

GASKET

SN: 76583-UP

1шт.

5

01010-30865

BOLT

SN: 76583-UP

10шт.

6

01010-30860

BOLT

SN: 76583-UP

1шт.

7

01010-30850

BOLT

SN: 76583-UP

1шт.

8

01602-00825

WASHER

SN: 76583-UP

12шт.

9

01640-00816

WASHER

SN: 76583-UP

12шт.

10

6130-12-1961

SPACER

SN: 76583-UP

1шт.

11

600-815-2341

HEATER

SN: 76583-UP

1шт.

12

6137-11-4311

CONNECTOR

SN: 76583-UP

1шт.

13

07042-00108

PLUG

SN: 76583-UP

1шт.

14

07042-00415

PLUG

SN: 76583-UP

1шт.

15

6136-11-4820

GASKET

SN: 76583-UP

2шт.

16

01010-30870

BOLT

SN: 76583-UP

3шт.

17

01010-30875

BOLT

SN: 76583-UP

1шт.

18

01602-00825

WASHER

SN: 76583-UP

4шт.

19

01640-20816

WASHER

SN: 76583-UP

4шт.

20

6137-11-4371

HOSE

SN: 76583-UP

1шт.

21

07281-00709

CLAMP

SN: 76583-UP

2шт.

22

6136-81-4111

PLATE

SN: 76583-UP

1шт.

23

600-815-2170

RELAY SWITCH

SN: 76583-UP

1шт.

24

01010-30620

BOLT

SN: 76583-UP

2шт.

25

01580-00605

NUT

SN: 76583-UP

2шт.

26

01602-00619

WASHER

SN: 76583-UP

2шт.

27

01641-00608

WASHER

SN: 76583-UP

4шт.

28

6678-81-4330

WIRE

SN: 76583-UP

1шт.

29

08038-00519

CAP

SN: 76583-UP

2шт.

Выбрано товаров: 29