Запчасти Komatsu S6D105-1EE - -

Схема запчастей Komatsu S6D105-1EE - - -
FIT
1:1
100%

Артикул

Название

Примечание

Количество

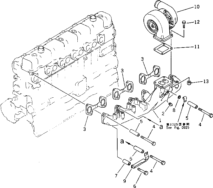
1

6137-11-5110

EXHAUST MANIFOL

SN: 76583-UP

1шт.

2

07042-20108

PLUG

SN: 76583-UP

1шт.

3

6136-11-5810

GASKET

SN: 76583-UP

3шт.

4

01011-31000

BOLT

SN: 76583-UP

11шт.

5

6136-11-5120

SPACER

SN: 76583-UP

11шт.

6

01010-31060

BOLT

SN: 76583-UP

1шт.

7

6112-21-6960

SPACER

SN: 76583-UP

1шт.

8

01643-31032

WASHER

SN: 76583-UP

1шт.

9

6136-11-5310

PLATE

SN: 76583-UP

1шт.

10

6137-82-8200

TURBOCHARGER AS

SN: 76583-UP

1шт.

11

6131-11-5170

GASKET

SN: 76583-UP

1шт.

12

02030-40638

BOLT

SN: 76583-UP

4шт.

13

6131-11-1290

NUT

SN: 76583-UP

4шт.

Выбрано товаров: 13