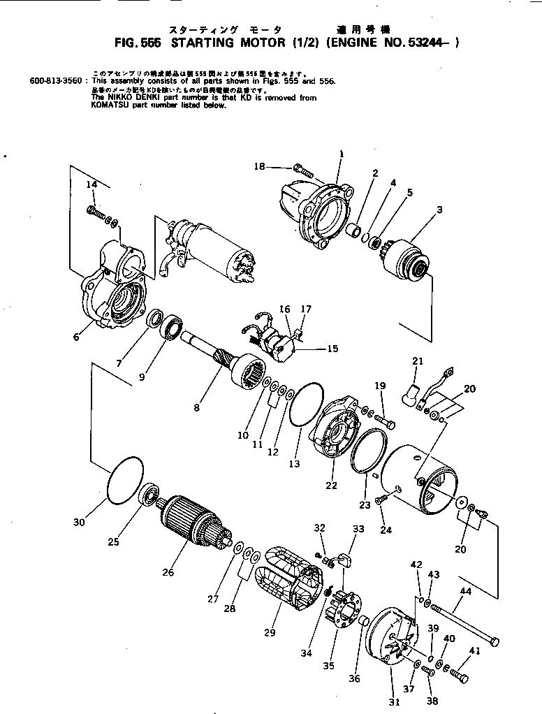
Запчасти Komatsu S6D105-1G СТАРТЕР (/)(№-) ОХЛАЖД-Е И ЭЛЕКТРИКАS

Схема запчастей Komatsu S6D105-1G - СТАРТЕР (/)(№-) ОХЛАЖД-Е И ЭЛЕКТРИКАS
FIT
1:1
100%

Артикул

Название

Примечание

Количество

|$0

600-813-3560

STARTING MOTOR A.,(735KW)

SN: 53244-UP

1шт.

1

KD1-23310-0420

FRONT BRACKET ASS'Y

SN: 53244-UP

1шт.

2

KD7-23351-0080

METAL

SN: 53244-UP

1шт.

3

KD1-23500-0190

CLUTCH ASS'Y,OVER RUNNING

SN: 53244-UP

1шт.

4

KD1-23914-0020

RING,CLIP

SN: 53244-UP

1шт.

5

KD1-23181-0020

STOPPER,PINION

SN: 53244-UP

1шт.

6

KD1-23600-0080

CENTER BRACKET A.

SN: 53244-UP

1шт.

7

KD1-09210-1040

SEAL,OIL

SN: 53244-UP

1шт.

8

KD7-23120-0090

SHAFT ASS'Y

SN: 53244-UP

1шт.

9

KD1-0468-60067

BEARING,BALL

SN: 53244-UP

1шт.

10

KD1-23921-0130

WASHER

SN: 53244-UP

1шт.

11

KD1-23921-0140

WASHER

SN: 53244-UP

2шт.

12

KD1-23941-0040

WASHER,INSULATE

SN: 53244-UP

1шт.

13

KD1-09211-0980

O-RING

SN: 53244-UP

1шт.

14

KD0-0274-06202

BOLT

SN: 53244-UP

3шт.

15

KD0-25000-6610

SWITCH ASS'Y,SAFETY RELAY

SN: 53244-UP

1шт.

16

KD0-0270-06602

BOLT,BOLT

SN: 53244-UP

1шт.

17

KD1-47927-0940

HOLDER

SN: 53244-UP

1шт.

18

KD1-0240-06305

BOLT

SN: 53244-UP

6шт.

19

KD1-0240-08405

BOLT

SN: 53244-UP

3шт.

20

KD7-23780-0070

TERMINAL ASS'Y

SN: 53244-UP

1шт.

21

KD1-09252-0430

CAP

SN: 53244-UP

1шт.

22

KD1-23611-0080

BRACKET,CENTER

SN: 53244-UP

1шт.

23

KD1-23951-0050

PACKING

SN: 53244-UP

1шт.

24

KD1-0060-08162

SCREW,DISH

SN: 53244-UP

4шт.

25

KD1-0476-62047

BEARING,BALL

SN: 53244-UP

1шт.

26

KD1-23100-0120

ARMATURE ASS'Y

SN: 53244-UP

1шт.

27

KD1-21921-1530

WASHER

SN: 53244-UP

1шт.

28

KD1-23921-0170

WASHER

SN: 53244-UP

2шт.

29

KD0-23230-0150

FIELD COIL ASS'Y

SN: 53244-UP

1шт.

30

KD1-09211-1120

O-RING

SN: 53244-UP

1шт.

|$31

KD7-23700-0150

REAR BRACKET ASS'Y

SN: 53244-UP

1шт.

31

KD0-23710-0040

BRACKET,REAR

SN: 53244-UP

1шт.

32

KD1-25922-2800

PLATE

SN: 53244-UP

4шт.

33

KD1-23740-0050

BRUSH ASS'Y

SN: 53244-UP

4шт.

34

KD1-23913-0040

SPRING,BRUSH

SN: 53244-UP

4шт.

35

KD0-23750-0050

BRUSH HOLDER A.

SN: 53244-UP

1шт.

36

KD7-23351-0060

METAL

SN: 53244-UP

1шт.

37

KD1-0345-05001

WASHER,SEAL

SN: 53244-UP

1шт.

38

KD0-0020-05062

SCREW

SN: 53244-UP

1шт.

39

KD1-0505-00501

O-RING

SN: 53244-UP

2шт.

40

KD1-47921-1000

WASHER

SN: 53244-UP

2шт.

41

KD0-09001-4180

BOLT

SN: 53244-UP

2шт.

42

KD1-0505-00601

O-RING

SN: 53244-UP

2шт.

43

KD1-47921-0790

WASHER

SN: 53244-UP

2шт.

44

KD0-23901-0030

BOLT,THROUGH

SN: 53244-UP

2шт.

Выбрано товаров: 46