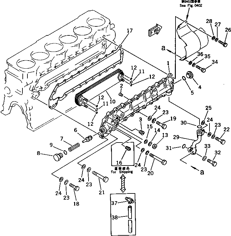
Запчасти Komatsu S6D105-1LL СИСТЕМА СМАЗКИ МАСЛООХЛАДИТЕЛЬ СИСТЕМА СМАЗКИ МАСЛ. СИСТЕМА

Схема запчастей Komatsu S6D105-1LL - СИСТЕМА СМАЗКИ МАСЛООХЛАДИТЕЛЬ СИСТЕМА СМАЗКИ МАСЛ. СИСТЕМА
FIT
1:1
100%

Артикул

Название

Примечание

Количество

|1

6137-62-2100

OIL COOLER ASS'Y

SN: 81441-UP

1шт.

1

6136-62-2110

COVER ASS'Y

SN: 81441-UP

1шт.

2

07043-00415

PLUG

SN: 81441-UP

1шт.

3

02720-40607

PLUG

SN: 81441-UP

2шт.

4

6138-61-2180

PLUG

SN: 81441-UP

1шт.

5

6136-61-2190

O-RING (K2)

SN: 81441-UP

1шт.

6

6136-62-2170

VALVE,THERMO

SN: 81441-UP

1шт.

7

6136-62-2160

SPRING

SN: 81441-UP

1шт.

8

6136-62-2140

PLUG

SN: 81441-UP

1шт.

9

6136-61-2150

O-RING (K2)

SN: 81441-UP

1шт.

10

600-651-1411

ELEMENT

SN: 81441-UP

1шт.

11

6136-61-2190

O-RING (K2)

SN: 81441-UP

2шт.

12

6127-61-2971

O-RING (K2)

SN: 81441-UP

4шт.

13

01580-10806

NUT

SN: 81441-UP

4шт.

14

01602-20825

WASHER,SPRING

SN: 81441-UP

4шт.

15

01641-20812

WASHER

SN: 81441-UP

4шт.

16

07042-00312

PLUG

SN: 81441-UP

1шт.

17

6136-61-2811

GASKET (K2)

SN: 81441-UP

1шт.

18

01010-30830

BOLT

SN: 81441-UP

2шт.

19

01010-30835

BOLT

SN: 81441-UP

15шт.

20

01010-30865

BOLT

SN: 81441-UP

1шт.

21

01010-30855

BOLT

SN: 81441-UP

1шт.

22

01010-30825

BOLT

SN: 81441-UP

4шт.

23

01602-00825

WASHER,SPRING

SN: 81441-UP

23шт.

24

01640-20816

WASHER

SN: 81441-UP

23шт.

25

01642-20810

WASHER

SN: 81441-UP

1шт.

26

01010-30850

BOLT

SN: 81441-UP

2шт.

27

01602-00825

WASHER,SPRING

SN: 81441-UP

2шт.

28

01640-20816

WASHER

SN: 81441-UP

2шт.

29

6136-51-6311

PIPE,OIL

SN: 81441-UP

1шт.

30

07000-23022

O-RING (K2)

SN: 81441-UP

1шт.

31

07000-63028

O-RING (K2)

SN: 81441-UP

1шт.

32

01010-30830

BOLT

SN: 81441-UP

1шт.

33

01602-00825

WASHER,SPRING

SN: 81441-UP

1шт.

34

01010-30855

BOLT

SN: 81441-UP

1шт.

35

01602-00825

WASHER,SPRING

SN: 81441-UP

1шт.

36

01640-20816

WASHER

SN: 81441-UP

1шт.

37

6140-61-6512

VALVE,DRAIN

SN: 81441-UP

1шт.

38

6130-65-6610

HOSE

SN: 81441-UP

1шт.

Выбрано товаров: 39