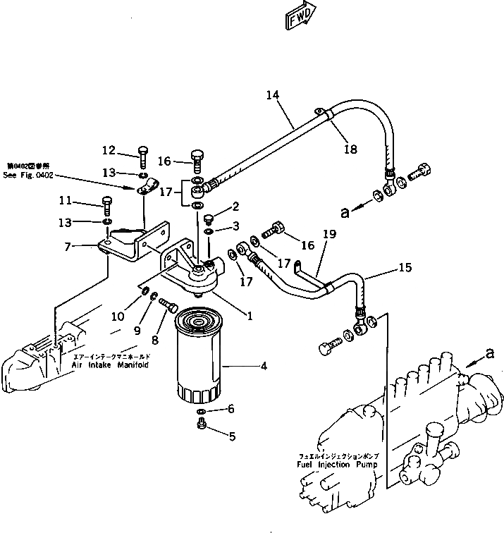
Запчасти Komatsu S6D105-1LL ТОПЛИВН. ФИЛЬТР. И ТРУБЫ ТОПЛИВН. СИСТЕМА

Схема запчастей Komatsu S6D105-1LL - ТОПЛИВН. ФИЛЬТР. И ТРУБЫ ТОПЛИВН. СИСТЕМА
FIT
1:1
100%

Артикул

Название

Примечание

Количество

|1

6138-71-6100

FUEL FILTER ASS'Y

SN: 81441-UP

1шт.

1

6138-71-6110

BRACKET

SN: 81441-UP

1шт.

2

6110-73-6231

PLUG

SN: 81441-UP

1шт.

3

07005-00812

GASKET (K1¤ K2)

SN: 81441-UP

1шт.

4

600-311-8291

CARTRIDGE

SN: 81441-UP

1шт.

5

6110-73-6231

PLUG

SN: 81441-UP

1шт.

6

07005-00812

GASKET

SN: 81441-UP

1шт.

7

6136-75-5880

BRACKET

SN: 81441-UP

1шт.

8

01010-31035

BOLT

SN: 81441-UP

2шт.

9

01602-01030

WASHER,SPRING

SN: 81441-UP

2шт.

10

01640-21016

WASHER

SN: 81441-UP

2шт.

11

01010-31030

BOLT

SN: 81441-UP

2шт.

12

01010-31035

BOLT

SN: 81441-UP

1шт.

13

01602-01030

WASHER,SPRING

SN: 81441-UP

3шт.

14

07271-01465

HOSE

SN: 81441-UP

1шт.

15

07271-01445

HOSE

SN: 81441-UP

1шт.

16

07206-11014

BOLT,JOINT

SN: 81441-UP

2шт.

17

07005-01412

GASKET (K1¤ K2)

SN: 81441-UP

4шт.

18

6130-71-6411

CLIP

SN: 81441-UP

1шт.

19

6136-71-5710

CLIP

SN: 81441-UP

1шт.

Выбрано товаров: 20