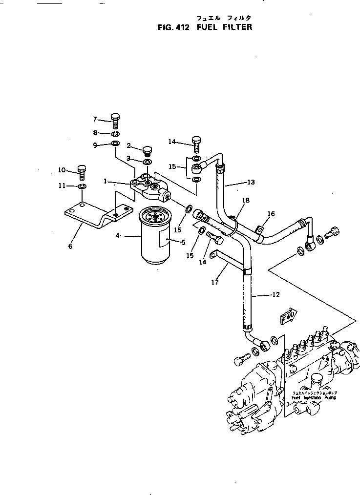
Запчасти Komatsu S6D105-1M ТОПЛИВН. ФИЛЬТР. ТОПЛИВН. СИСТЕМА

Схема запчастей Komatsu S6D105-1M - ТОПЛИВН. ФИЛЬТР. ТОПЛИВН. СИСТЕМА
FIT
1:1
100%

Артикул

Название

Примечание

Количество

|$0

6136-72-6100

FUEL FILTER ASS'Y

SN: 50001-UP

1шт.

1

6136-72-6110

COVER

SN: 50001-UP

1шт.

2

6136-72-6130

PLUG

SN: 50001-UP

1шт.

3

07005-01412

GASKET

SN: 50001-UP

1шт.

4

6136-71-6120

CARTRIDGE

SN: 50001-UP

1шт.

5

600-311-8730

PLATE, CAUTION,(ENGLISH-FRENCH)

SN: 50001-UP

1шт.

5

600-311-8750

PLATE, CAUTION,(ENGLISH)

SN: 50001-UP

1шт.

5

6136-81-9970

PLATE, INSTRUCTION,(ENGLISH-ARABIC)

SN: 50001-UP

1шт.

6

6136-71-5870

BRACKET

SN: 50001-UP

1шт.

7

01010-31030

BOLT

SN: 50001-UP

2шт.

8

01602-01030

WASHER,SPRING

SN: 50001-UP

2шт.

9

01640-21016

WASHER

SN: 50001-UP

2шт.

10

01010-31030

BOLT

SN: 50001-UP

2шт.

11

01602-01030

WASHER,SPRING

SN: 50001-UP

2шт.

12

6134-71-5910

HOSE

SN: 50001-UP

1шт.

13

6131-72-5610

HOSE

SN: 50001-UP

1шт.

14

07206-11014

BOLT,JOINT

SN: 50001-UP

2шт.

15

07005-01412

GASKET (K2)

SN: 50001-UP

8шт.

Выбрано товаров: 18