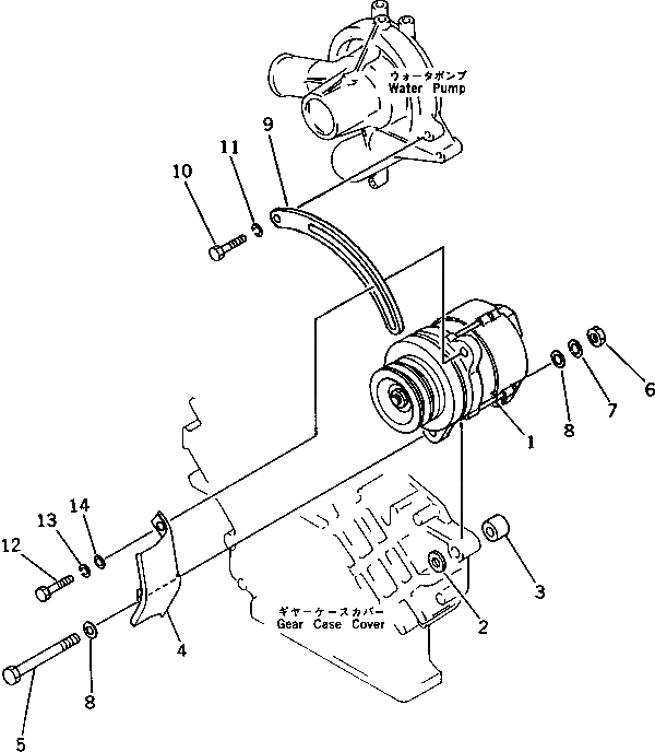
Запчасти Komatsu S6D105-1MM-B ГЕНЕРАТОР И КРЕПЛЕНИЕ ЭЛЕКТРИКА

Схема запчастей Komatsu S6D105-1MM-B - ГЕНЕРАТОР И КРЕПЛЕНИЕ ЭЛЕКТРИКА
FIT
1:1
100%

Артикул

Название

Примечание

Количество

1

600-821-6130

ALTERNATOR A. (25A),(SEE FIG. 0642)

SN: 80070-UP

1шт.

2

6136-21-6610

SPACER

SN: 80070-UP

1шт.

3

6136-21-6620

SPACER

SN: 80070-UP

1шт.

4

6136-81-8810

COVER

SN: 80070-UP

1шт.

5

6112-21-6580

BOLT

SN: 80070-UP

1шт.

6

01580-01411

NUT

SN: 80070-UP

1шт.

7

01602-01442

WASHER,SPRING

SN: 80070-UP

1шт.

8

01641-21426

WASHER

SN: 80070-UP

2шт.

9

6136-21-6723

PLATE,ADJUST

SN: 80070-UP

1шт.

10

01010-31035

BOLT

SN: 80070-UP

1шт.

11

01602-01030

WASHER,SPRING

SN: 80070-UP

1шт.

12

01050-31235

BOLT

SN: 80070-UP

1шт.

13

01602-01236

WASHER,SPRING

SN: 80070-UP

1шт.

14

01643-31232

WASHER

SN: 80070-UP

1шт.

Выбрано товаров: 14