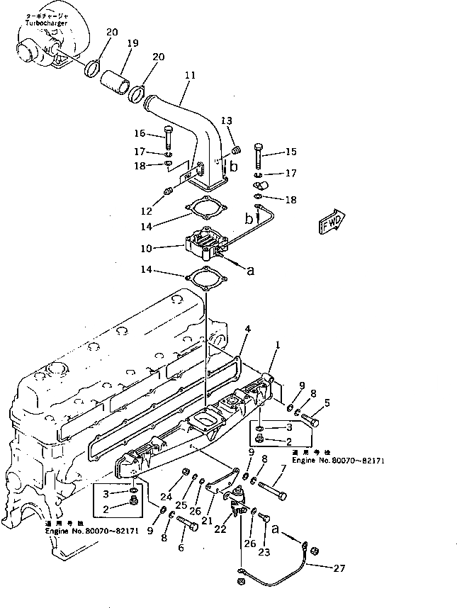
Запчасти Komatsu S6D105-1MM-B ТРУБОПРОВОД ВПУСКА ВОЗДУХА И СОЕДИН-Е ГОЛОВКА ЦИЛИНДРОВ

Схема запчастей Komatsu S6D105-1MM-B - ТРУБОПРОВОД ВПУСКА ВОЗДУХА И СОЕДИН-Е ГОЛОВКА ЦИЛИНДРОВ
FIT
1:1
100%

Артикул

Название

Примечание

Количество

1

6136-12-4120

MANIFOLD,INTAKE

SN: 82172-UP

1шт.

|1

6136-11-4123

MANIFOLD,INTAKE

SN: 80070-82171

1шт.

2

6114-11-8910

PLUG

SN: 80070-82171

2шт.

3

07005-02216

GASKET (K1)

SN: 80070-82171

2шт.

4

6136-11-4811

GASKET (K1)

SN: 80070-UP

1шт.

5

01010-30850

BOLT

SN: 80070-UP

2шт.

6

01010-30865

BOLT

SN: 80070-UP

8шт.

7

01010-30865

BOLT

SN: 80070-UP

2шт.

8

01602-00825

WASHER,SPRING

SN: 80070-UP

12шт.

9

01640-20816

WASHER

SN: 80070-UP

12шт.

10

600-815-2341

HEATER,RIBBON

SN: 80070-UP

1шт.

11

6137-11-4311

CONNECTOR,AIR

SN: 80070-UP

1шт.

12

07042-00108

PLUG

SN: 80070-UP

2шт.

13

07043-00415

PLUG

SN: 80070-UP

1шт.

14

6136-11-4820

GASKET (K1)

SN: 80070-UP

2шт.

15

01010-30875

BOLT

SN: 80070-UP

1шт.

16

01010-30870

BOLT

SN: 80070-UP

3шт.

17

01602-00825

WASHER,SPRING

SN: 80070-UP

4шт.

18

01640-20816

WASHER

SN: 80070-UP

4шт.

19

6137-11-4371

HOSE,AIR

SN: 80070-UP

1шт.

20

07281-00709

CLAMP

SN: 80070-UP

2шт.

21

6136-81-4111

PLATE

SN: 80070-UP

1шт.

22

600-815-2170

SWITCH,HEATER

SN: 80070-UP

1шт.

23

01010-30620

BOLT

SN: 80070-UP

2шт.

24

01580-00605

NUT

SN: 80070-UP

2шт.

25

01602-00619

WASHER,SPRING

SN: 80070-UP

2шт.

26

01641-00608

WASHER

SN: 80070-UP

4шт.

27

6678-81-4330

WIRE¤ 350MM

SN: 80070-UP

1шт.

Выбрано товаров: 28