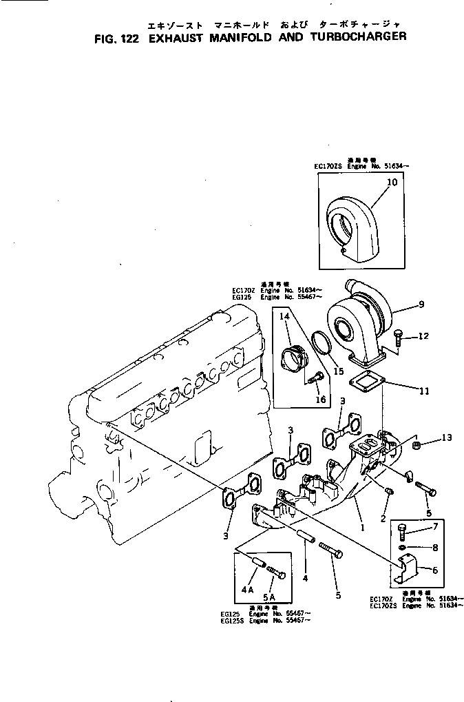
Запчасти Komatsu S6D105-1R ВЫПУСКНОЙ КОЛЛЕКТОР И ТУРБОНАГНЕТАТЕЛЬ ГОЛОВКА ЦИЛИНДРОВ

Схема запчастей Komatsu S6D105-1R - ВЫПУСКНОЙ КОЛЛЕКТОР И ТУРБОНАГНЕТАТЕЛЬ ГОЛОВКА ЦИЛИНДРОВ
FIT
1:1
100%

Артикул

Название

Примечание

Количество

1

6137-11-5110

MANIFOLD,EXHAUST

SN: 55467-UP

1шт.

2

07042-20108

PLUG

SN: 55467-UP

2шт.

3

6136-11-5810

GASKET (K1)

SN: 55467-UP

3шт.

4

6136-11-5120

SPACER

SN: 55467-UP

11шт.

4A

6112-21-6960

SPACER

SN: 55467-UP

1шт.

5

01011-31000

BOLT

SN: 55467-UP

11шт.

5A

01010-31060

BOLT

SN: 55467-UP

1шт.

9

6137-82-8200

TURBOCHARGER ASS'Y,(SEE FIG.141)

SN: 55467-UP

1шт.

11

6131-11-5170

GASKET (K1)

SN: 55467-UP

1шт.

12

02030-40638

BOLT

SN: 55467-UP

4шт.

13

6131-11-1290

NUT

SN: 55467-UP

4шт.

14

6131-11-5230

JOINT,(FOR EG125)

SN: 55467-UP

1шт.

15

6114-11-5280

RING,SEAL

SN: 55467-UP

1шт.

16

6131-11-5360

BOLT,(FOR EG125)

SN: 55467-UP

2шт.

Выбрано товаров: 14