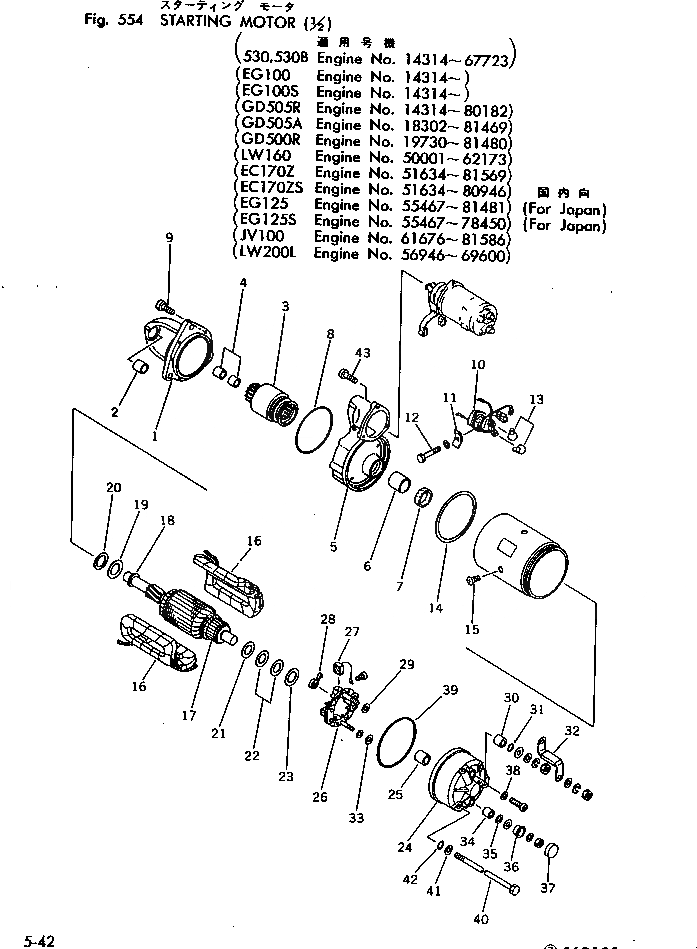
Запчасти Komatsu S6D105-1S СТАРТЕР (/) (.KW) (КРОМЕ ЯПОН.)(№7-88) ОХЛАЖД-Е И ЭЛЕКТРИКАS

Схема запчастей Komatsu S6D105-1S - СТАРТЕР (/) (.KW) (КРОМЕ ЯПОН.)(№7-88) ОХЛАЖД-Е И ЭЛЕКТРИКАS
FIT
1:1
100%

Артикул

Название

Примечание

Количество

|$0

600-813-2243

STARTING MOTOR A.,(5.5KW)

SN: 55467-81481

1шт.

1

KD1-21300-1960

FRONT BRACKET ASS'Y

SN: 55467-81481

1шт.

2

KD7-21351-0950

METAL

SN: 55467-81481

1шт.

3

KD1-21500-1610

CLUTCH ASS'Y,OVER RUNNING

SN: 55467-81481

1шт.

4

KD7-21351-0250

METAL

SN: 55467-81481

2шт.

5

KD1-21600-1460

CENTER BRACKET A.

SN: 55467-81481

1шт.

6

KD7-21351-0960

METAL

SN: 55467-81481

1шт.

7

KD1-09210-0890

SEAL,OIL

SN: 55467-81481

1шт.

8

KD1-0507-09001

O-RING

SN: 55467-81481

1шт.

9

KD1-0240-06185

BOLT

SN: 55467-81481

6шт.

10

KD0-25000-6080

SWITCH ASS'Y

SN: 55467-81481

1шт.

11

KD1-47927-0920

HOLDER

SN: 55467-81481

1шт.

12

KD0-0270-06602

BOLT

SN: 55467-81481

1шт.

13

KD1-09252-0141

CAP

SN: 55467-81481

2шт.

14

KD1-21951-1920

PACKING

SN: 55467-81481

1шт.

15

KD1-0060-10182

SCREW

SN: 55467-81481

4шт.

16

KD1-21230-0890

FIELD COIL ASS'Y

SN: 55467-81481

1шт.

17

KD1-21100-1190

ARMATURE ASS'Y

SN: 55467-81481

1шт.

18

KD1-21181-0310

STOPPER,PINION

SN: 55467-81481

1шт.

19

KD1-21941-0600

WASHER,INSULATE

SN: 55467-81481

1шт.

20

KD1-21921-1440

WASHER

SN: 55467-81481

1шт.

21

KD1-21921-0660

WASHER

SN: 55467-81481

1шт.

22

KD1-21921-0980

WASHER

SN: 55467-81481

2шт.

23

KD1-21941-0580

WASHER,INSULATE

SN: 55467-81481

1шт.

|$24

KD7-21700-0190

REAR BRACKET ASS'Y

SN: 55467-81481

1шт.

24

KD0-21700-1670

REAR BRACKET A.

SN: 55467-81481

1шт.

25

KD7-21351-0950

METAL

SN: 55467-81481

1шт.

26

KD0-21750-1432

BRUSH HOLDER A.

SN: 55467-81481

1шт.

27

KD1-21740-0440

BRUSH

SN: 55467-81481

4шт.

28

KD1-21913-0370

SPRING

SN: 55467-81481

4шт.

29

KD1-21941-0230

WASHER,INSULATE

SN: 55467-81481

2шт.

30

KD1-21944-1060

TUBE,INSULATE

SN: 55467-81481

1шт.

31

KD1-0506-01001

O-RING

SN: 55467-81481

1шт.

32

KD1-21784-1220

BAR,CONNECT

SN: 55467-81481

1шт.

33

KD1-21941-0590

WASHER,INSULATE

SN: 55467-81481

2шт.

34

KD1-21944-1050

TUBE,INSULATE

SN: 55467-81481

1шт.

35

KD1-21951-1910

PACKING

SN: 55467-81481

1шт.

36

KD1-21927-0160

HOLDER

SN: 55467-81481

1шт.

37

KD1-09252-0370

CAP

SN: 55467-81481

1шт.

38

KD1-0345-05001

WASHER,SEAL

SN: 55467-81481

1шт.

39

KD1-09211-0390

O-RING

SN: 55467-81481

1шт.

40

KD0-21901-1670

BOLT

SN: 55467-81481

2шт.

41

KD1-31921-0020

WASHER

SN: 55467-81481

2шт.

42

KD1-0505-00801

O-RING

SN: 55467-81481

2шт.

43

KD1-0056-06202

SCREW

SN: 55467-81481

3шт.

Выбрано товаров: 45