Запчасти Komatsu S6D105-1TT СИСТЕМА СМАЗКИ МАСЛООХЛАДИТЕЛЬ (МОРОЗОУСТОЙЧИВ. СПЕЦИФИКАЦИЯ.) СИСТЕМА СМАЗКИ МАСЛ. СИСТЕМА

Схема запчастей Komatsu S6D105-1TT - СИСТЕМА СМАЗКИ МАСЛООХЛАДИТЕЛЬ (МОРОЗОУСТОЙЧИВ. СПЕЦИФИКАЦИЯ.) СИСТЕМА СМАЗКИ МАСЛ. СИСТЕМА
FIT
1:1
100%

Артикул

Название

Примечание

Количество

|$0

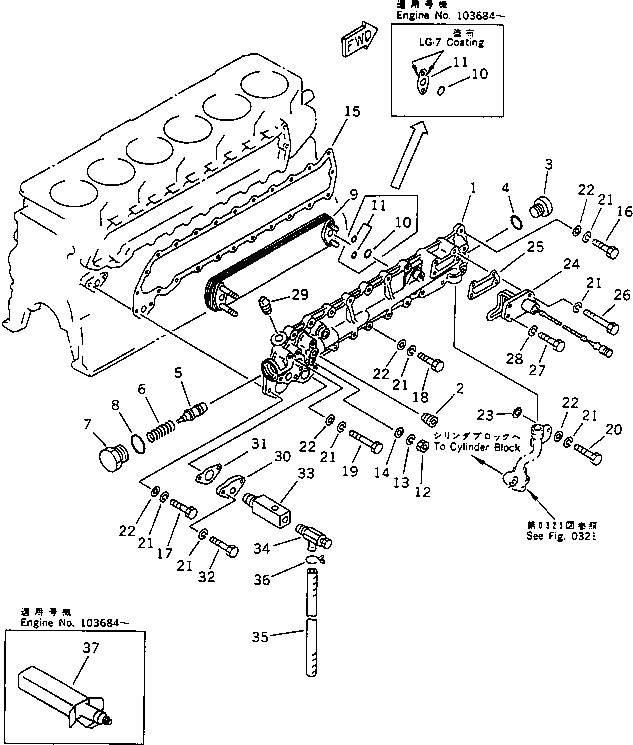
6137-62-2201

OIL COOLER ASS'Y

SN: 86423-UP

1шт.

|$1

0

OIL COOLER ASS'Y

SN: (86423-103683)

1шт.

1

6136-62-2211

COVER ASS'Y

SN: 103674-UP

1шт.

1

\4\6136-62-2210

COVER

SN: 86423-103683

1шт.

|$$5

(6136-62-2211,6136-61-2290(2))

-1шт.

1

07043-00415

PLUG,(NOT SHOWN)

SN: 86423-UP

1шт.

2

02720-40607

PLUG

SN: 86423-UP

2шт.

3

6138-61-2180

PLUG

SN: 86423-UP

1шт.

4

6136-61-2190

O-RING (K2)

SN: 86424-UP

1шт.

4

6136-61-2190

O-RING

SN: 86423-86423

1шт.

5

6136-62-2170

VALVE,THERMO

SN: 86423-UP

1шт.

6

6136-62-2160

SPRING

SN: 86423-UP

1шт.

7

6136-62-2140

PLUG

SN: 86423-UP

1шт.

8

6136-61-2150

O-RING (K2)

SN: 86424-UP

1шт.

8

6136-61-2150

O-RING

SN: 86423-86423

1шт.

9

600-651-1411

ELEMENT,OIL COOLER

SN: 86423-UP

1шт.

10

6136-61-2190

O-RING (K2)

SN: 86424-UP

2шт.

10

6136-61-2190

O-RING

SN: 86423-86423

2шт.

11

6136-61-2290

GASKET (K2)

SN: 103684-UP

2шт.

11

6127-61-2971

O-RING (K2)

SN: 86423-103683

4шт.

12

01580-10806

NUT

SN: 86423-UP

4шт.

13

01602-20825

WASHER,SPRING

SN: 86423-UP

4шт.

14

01641-20812

WASHER

SN: 86423-UP

4шт.

15

6136-61-2811

GASKET (K2)

SN: 86423-UP

1шт.

16

01435-20820

BOLT

SN: 106090-UP

4шт.

16

0

BOLT

SN: 86423-106089

4шт.

17

01435-20825

BOLT

SN: 106090-UP

2шт.

17

0

BOLT

SN: 86423-106089

2шт.

18

01435-20830

BOLT

SN: 106090-UP

12шт.

18

0

BOLT

SN: 86423-106089

12шт.

19

01435-20865

BOLT

SN: 106090-UP

1шт.

19

0

BOLT

SN: 86423-106089

1шт.

20

01435-20825

BOLT

SN: 106090-UP

1шт.

20

0

BOLT

SN: 86423-106089

1шт.

21

01602-20825

WASHER,SPRING

SN: 86423-106089

24шт.

22

01640-20816

WASHER

SN: 86423-106089

20шт.

23

01640-20816

WASHER

SN: 86423-UP

1шт.

24

600-815-6470

HEATER

SN: 86423-UP

1шт.

25

6136-61-6810

GASKET

SN: 86423-UP

1шт.

26

01435-20875

BOLT

SN: 106090-UP

2шт.

26

0

BOLT

SN: 86423-106089

2шт.

27

01435-20820

BOLT

SN: 106090-UP

2шт.

27

0

BOLT

SN: 86423-106089

2шт.

28

01602-00825

WASHER,SPRING

SN: 86423-106089

2шт.

29

07042-00415

PLUG

SN: 86423-UP

1шт.

30

6136-61-9720

PLATE

SN: 86423-UP

1шт.

31

6136-61-8810

GASKET

SN: 86423-UP

1шт.

32

01435-20860

BOLT

SN: 106090-UP

2шт.

32

0

BOLT

SN: 86423-106089

2шт.

33

6136-61-8670

NIPPLE

SN: 86423-UP

1шт.

34

6140-61-6512

VALVE,DRAIN

SN: 86423-UP

1шт.

35

07286-00835

HOSE

SN: 92237-UP

1шт.

35

0

HOSE

SN: 86423-92236

1шт.

36

6144-61-6510

CLIP

SN: 86423-UP

1шт.

37

09920-00150

LIQUID GASKET,LG-7, 150G

SN: 103684-UP

-2шт.

|$0

6137-62-2201

OIL COOLER ASS'Y

SN: 86423-UP

1шт.

|$1

0

OIL COOLER ASS'Y

SN: (86423-103683)

1шт.

1

6136-62-2211

COVER ASS'Y

SN: 103674-UP

1шт.

1

\4\6136-62-2210

COVER

SN: 86423-103683

1шт.

|$$5

(6136-62-2211,6136-61-2290(2))

-1шт.

1

07043-00415

PLUG,(NOT SHOWN)

SN: 86423-UP

1шт.

2

02720-40607

PLUG

SN: 86423-UP

2шт.

3

6138-61-2180

PLUG

SN: 86423-UP

1шт.

4

6136-61-2190

O-RING (K2)

SN: 86424-UP

1шт.

4

6136-61-2190

O-RING

SN: 86423-86423

1шт.

5

6136-62-2170

VALVE,THERMO

SN: 86423-UP

1шт.

6

6136-62-2160

SPRING

SN: 86423-UP

1шт.

7

6136-62-2140

PLUG

SN: 86423-UP

1шт.

8

6136-61-2150

O-RING (K2)

SN: 86424-UP

1шт.

8

6136-61-2150

O-RING

SN: 86423-86423

1шт.

9

600-651-1411

ELEMENT,OIL COOLER

SN: 86423-UP

1шт.

10

6136-61-2190

O-RING (K2)

SN: 86424-UP

2шт.

10

6136-61-2190

O-RING

SN: 86423-86423

2шт.

11

6136-61-2290

GASKET (K2)

SN: 103684-UP

2шт.

11

6127-61-2971

O-RING (K2)

SN: 86423-103683

4шт.

12

01580-10806

NUT

SN: 86423-UP

4шт.

13

01602-20825

WASHER,SPRING

SN: 86423-UP

4шт.

14

01641-20812

WASHER

SN: 86423-UP

4шт.

15

6136-61-2811

GASKET (K2)

SN: 86423-UP

1шт.

16

01435-20820

BOLT

SN: 106090-UP

4шт.

16

0

BOLT

SN: 86423-106089

4шт.

17

01435-20825

BOLT

SN: 106090-UP

2шт.

17

0

BOLT

SN: 86423-106089

2шт.

18

01435-20830

BOLT

SN: 106090-UP

12шт.

18

0

BOLT

SN: 86423-106089

12шт.

19

01435-20865

BOLT

SN: 106090-UP

1шт.

19

0

BOLT

SN: 86423-106089

1шт.

20

01435-20825

BOLT

SN: 106090-UP

1шт.

20

0

BOLT

SN: 86423-106089

1шт.

21

01602-20825

WASHER,SPRING

SN: 86423-106089

24шт.

22

01640-20816

WASHER

SN: 86423-106089

20шт.

23

01640-20816

WASHER

SN: 86423-UP

1шт.

24

600-815-6470

HEATER

SN: 86423-UP

1шт.

25

6136-61-6810

GASKET

SN: 86423-UP

1шт.

26

01435-20875

BOLT

SN: 106090-UP

2шт.

26

0

BOLT

SN: 86423-106089

2шт.

27

01435-20820

BOLT

SN: 106090-UP

2шт.

27

0

BOLT

SN: 86423-106089

2шт.

28

01602-00825

WASHER,SPRING

SN: 86423-106089

2шт.

29

07042-00415

PLUG

SN: 86423-UP

1шт.

30

6136-61-9720

PLATE

SN: 86423-UP

1шт.

31

6136-61-8810

GASKET

SN: 86423-UP

1шт.

32

01435-20860

BOLT

SN: 106090-UP

2шт.

32

0

BOLT

SN: 86423-106089

2шт.

33

6136-61-8670

NIPPLE

SN: 86423-UP

1шт.

34

6140-61-6512

VALVE,DRAIN

SN: 86423-UP

1шт.

35

07286-00835

HOSE

SN: 92237-UP

1шт.

35

0

HOSE

SN: 86423-92236

1шт.

36

6144-61-6510

CLIP

SN: 86423-UP

1шт.

37

09920-00150

LIQUID GASKET,LG-7, 150G

SN: 103684-UP

-2шт.

Выбрано товаров: 110