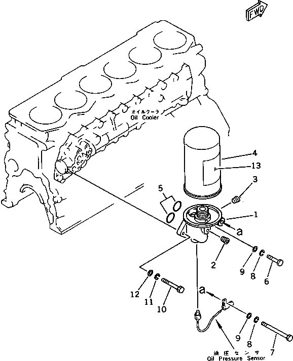
Запчасти Komatsu S6D105-1Z МАСЛ. ФИЛЬТР(№78-) СИСТЕМА СМАЗКИ МАСЛ. СИСТЕМА

Схема запчастей Komatsu S6D105-1Z - МАСЛ. ФИЛЬТР(№78-) СИСТЕМА СМАЗКИ МАСЛ. СИСТЕМА
FIT
1:1
100%

Артикул

Название

Примечание

Количество

|1

6134-51-5101

OIL FILTER ASS'Y

SN: 78506-UP

1шт.

1

6134-51-5110

BRACKET

SN: 78506-UP

1шт.

2

07043-00108

PLUG

SN: 78506-UP

1шт.

3

07043-00415

PLUG

SN: 78506-UP

1шт.

4

6134-51-5120

CARTRIDGE

SN: 78506-UP

1шт.

5

07000-63028

O-RING (K2)

SN: 62361-UP

2шт.

6

01010-31035

BOLT

SN: 62361-UP

1шт.

7

01011-31025

BOLT

SN: 78506-UP

1шт.

8

01602-01030

WASHER,SPRING

SN: 62361-UP

2шт.

9

01640-21016

WASHER

SN: 78506-UP

2шт.

10

01010-30890

BOLT

SN: 78506-UP

1шт.

11

01602-00825

WASHER,SPRING

SN: 62361-UP

1шт.

12

01640-20816

WASHER

SN: 62361-UP

1шт.

13

6136-81-9150

PLATE¤ INSTRUCTION,(ENGLISH-SWEDISH)

SN: 78506-UP

1шт.

|13

600-211-5480

PLATE¤ CAUTION,(PERSIAN)

SN: 78506-UP

1шт.

|13

600-211-5260

PLATE¤ CAUTION,(ENGLISH)

SN: 78506-UP

1шт.

|13

600-211-5391

PLATE¤ CAUTION,(ENGLISH-FRENCH)

SN: 78506-UP

1шт.

|13

600-211-5930

PLATE¤ CAUTION,(CHINESE)

SN: 78506-UP

1шт.

|13

600-211-5380

PLATE¤ CAUTION,(ENGLISH-GERMAN)

SN: 78506-UP

1шт.

Выбрано товаров: 19