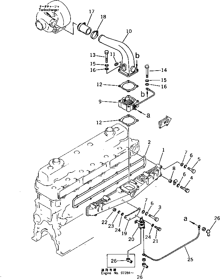
Запчасти Komatsu S6D105-1Z ТРУБОПРОВОД ВПУСКА ВОЗДУХА И СОЕДИН-Е(№78-) ГОЛОВКА ЦИЛИНДРОВ

Схема запчастей Komatsu S6D105-1Z - ТРУБОПРОВОД ВПУСКА ВОЗДУХА И СОЕДИН-Е(№78-) ГОЛОВКА ЦИЛИНДРОВ
FIT
1:1
100%

Артикул

Название

Примечание

Количество

1

6136-12-4120

MANIFOLD,INTAKE

SN: 78322-UP

1шт.

2

6136-11-4811

GASKET (K1)

SN: 62361-UP

1шт.

3

01010-30865

BOLT

SN: 62361-UP

10шт.

4

01010-30860

BOLT

SN: 71217-UP

1шт.

5

01010-30850

BOLT

SN: 62361-UP

1шт.

6

01602-00825

WASHER,SPRING

SN: 62361-UP

12шт.

7

01640-20816

WASHER

SN: 62361-UP

11шт.

8

6130-12-1961

SPACER,(SEE FIG.0681A)

SN: 71217-UP

1шт.

9

600-815-2341

HEATER,RIBBON

SN: 62361-UP

1шт.

10

6137-11-4420

CONNECTOR,AIR

SN: 78506-UP

1шт.

11

07042-00108

PLUG

SN: 62361-UP

1шт.

12

6136-11-4820

GASKET (K1)

SN: 62361-UP

2шт.

13

01010-30870

BOLT

SN: 62361-UP

3шт.

14

01010-30875

BOLT

SN: 62361-UP

1шт.

15

01602-00825

WASHER,SPRING

SN: 62361-UP

4шт.

16

01640-20816

WASHER

SN: 62361-UP

4шт.

17

6207-11-4370

HOSE,AIR

SN: 78506-UP

1шт.

18

07281-00709

CLAMP

SN: 62361-UP

2шт.

19

6136-81-4111

PLATE

SN: 62361-UP

1шт.

20

600-815-2170

SWITCH¤ HEATER

SN: 62361-UP

1шт.

21

01010-30620

BOLT

SN: 62361-UP

2шт.

22

01580-00605

NUT

SN: 62361-UP

2шт.

23

01602-00619

WASHER,SPRING

SN: 62361-UP

2шт.

24

01641-00608

WASHER

SN: 62361-UP

4шт.

25

6136-81-4340

WIRE¤ 250MM

SN: 98194-UP

1шт.

|25

0

WIRE¤ 350MM

SN: 62361-98193

1шт.

26

08038-00519

CAP

SN: 97047-UP

3шт.

|26

08038-00519

CAP

SN: 62361-97046

2шт.

Выбрано товаров: 28