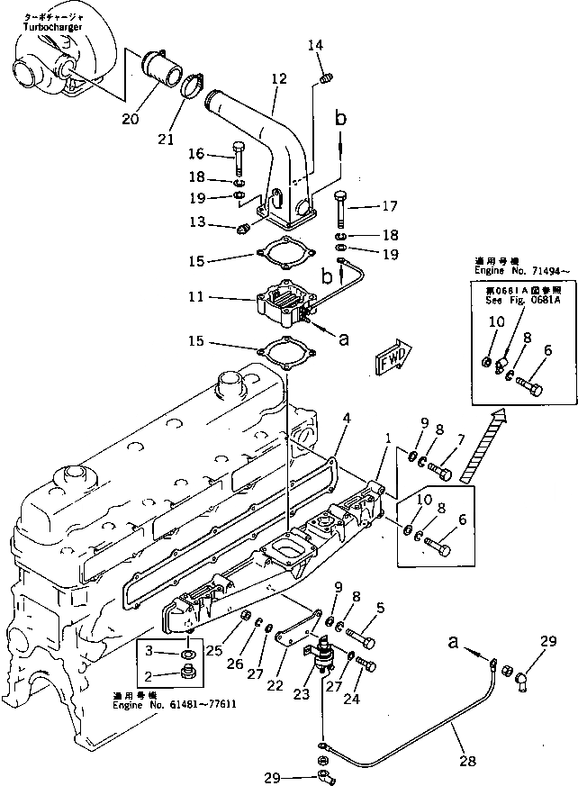
Запчасти Komatsu S6D105-B-1A ТРУБОПРОВОД ВПУСКА ВОЗДУХА И СОЕДИН-Е(№8-788) ГОЛОВКА ЦИЛИНДРОВ

Схема запчастей Komatsu S6D105-B-1A - ТРУБОПРОВОД ВПУСКА ВОЗДУХА И СОЕДИН-Е(№8-788) ГОЛОВКА ЦИЛИНДРОВ
FIT
1:1
100%

Артикул

Название

Примечание

Количество

1

6136-12-4120

MANIFOLD,INTAKE

SN: 77612-@

1шт.

|1

6136-11-4123

MANIFOLD,INTAKE

SN: 61481-77611

1шт.

2

6114-11-8910

PLUG

SN: 61481-77611

2шт.

3

07005-02216

GASKET (K1)

SN: 61481-77611

2шт.

4

6136-11-4811

GASKET (K1)

SN: 61481-@

1шт.

5

01010-30865

BOLT

SN: 61481-@

10шт.

6

01010-30860

BOLT

SN: 71494-@

1шт.

|6

01010-30855

BOLT

SN: 61481-71493

1шт.

7

01010-30850

BOLT

SN: 61481-@

1шт.

8

01602-00825

WASHER,SPRING

SN: 61481-@

12шт.

9

01640-10816

WASHER

SN: 61481-@

11шт.

10

6130-12-1961

SPACER,(SEE FIG.0681A)

SN: 71494-@

1шт.

|10

01640-10816

WASHER

SN: 61481-71493

1шт.

11

600-815-2341

HEATER,RIBBON

SN: 61481-@

1шт.

12

6137-11-4311

CONNECTOR,AIR

SN: 61481-78804

1шт.

13

07042-00108

PLUG

SN: 61481-78804

1шт.

14

07042-00415

PLUG

SN: 61481-78804

1шт.

15

6136-11-4820

GASKET (K1)

SN: 61481-@

2шт.

16

01010-30870

BOLT

SN: 61481-@

3шт.

17

01010-30875

BOLT

SN: 61481-@

1шт.

18

01602-00825

WASHER,SPRING

SN: 61481-@

4шт.

19

01640-20816

WASHER

SN: 61481-@

4шт.

20

6137-11-4371

HOSE

SN: 61481-78804

1шт.

21

07281-00709

CLAMP

SN: 61481-@

2шт.

22

6136-81-4111

PLATE

SN: 61481-@

1шт.

23

600-815-2170

SWITCH¤ HEATER

SN: 61481-@

1шт.

24

01010-30620

BOLT

SN: 61481-@

2шт.

25

01580-00605

NUT

SN: 61481-@

2шт.

26

01602-00619

WASHER,SPRING

SN: 61481-@

2шт.

27

01641-00608

WASHER

SN: 61481-@

4шт.

28

6678-81-4330

WIRE¤ 350MM

SN: 61481-@

1шт.

29

08038-00519

CAP

SN: 61481-@

2шт.

Выбрано товаров: 0