Запчасти Komatsu S6D105-B-1A-SS МАСЛЯНЫЙ ПОДДОН(№978-) БЛОК ЦИЛИНДРОВ

Схема запчастей Komatsu S6D105-B-1A-SS - МАСЛЯНЫЙ ПОДДОН(№978-) БЛОК ЦИЛИНДРОВ
FIT
1:1
100%

Артикул

Название

Примечание

Количество

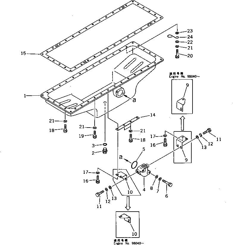
1

6136-21-5210

PAN,OIL

SN: 61481-UP

1шт.

2

6130-22-5190

PLUG,DRAIN

SN: 61481-UP

1шт.

3

07000-03022

O-RING (K2)

SN: 61481-UP

1шт.

4

6137-21-5710

CASE

SN: 61481-UP

1шт.

5

07000-02055

O-RING (K2)

SN: 61481-UP

1шт.

6

01010-31065

BOLT

SN: 61481-UP

2шт.

7

01602-01030

WASHER,SPRING

SN: 61481-UP

2шт.

8

01641-21016

WASHER

SN: 61481-UP

2шт.

9

6137-21-5730

BRACKET

SN: 98040-UP

1шт.

|9

0

BRACKET

SN: 61481-98039

1шт.

10

6137-21-5740

BRACKET

SN: 98040-UP

1шт.

|10

0

BRACKET

SN: 61481-98039

1шт.

11

01010-30822

BOLT

SN: 61481-UP

2шт.

12

01602-00825

WASHER,SPRING

SN: 61481-UP

2шт.

13

01640-20816

WASHER

SN: 61481-UP

2шт.

14

6136-81-4560

PLATE

SN: 68909-UP

1шт.

15

6136-21-5810

GASKET (K2)

SN: 97284-UP

1шт.

16

01010-30830

BOLT

SN: 61481-UP

2шт.

17

01602-00825

WASHER,SPRING

SN: 61481-UP

2шт.

18

01010-30825

BOLT

SN: 68909-UP

10шт.

19

01010-30822

BOLT

SN: 97284-UP

25шт.

20

01010-30830

BOLT

SN: 61481-UP

1шт.

21

01602-00825

WASHER,SPRING

SN: 61481-UP

36шт.

22

01640-00816

WASHER

SN: 61481-UP

1шт.

23

01643-30823

WASHER

SN: 61481-UP

1шт.

24

6130-22-5290

CLIP

SN: 61481-UP

1шт.

Выбрано товаров: 26