Запчасти Komatsu S6D105-B-1A-SS СИСТЕМА СМАЗКИ МАСЛООХЛАДИТЕЛЬ СИСТЕМА СМАЗКИ МАСЛ. СИСТЕМА

Схема запчастей Komatsu S6D105-B-1A-SS - СИСТЕМА СМАЗКИ МАСЛООХЛАДИТЕЛЬ СИСТЕМА СМАЗКИ МАСЛ. СИСТЕМА
FIT
1:1
100%

Артикул

Название

Примечание

Количество

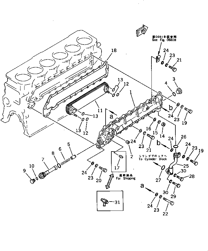
|1

6136-61-2102

OIL COOLER ASS'Y

SN: 61481-UP

1шт.

1

6136-61-2112

COVER ASS'Y

SN: 61481-UP

1шт.

|1

07043-00415

PLUG,(NOT SHOWN)

SN: 61481-UP

1шт.

2

02720-40607

PLUG

SN: 61481-UP

2шт.

3

6138-61-2180

PLUG

SN: 61481-UP

1шт.

4

6136-61-2190

O-RING (K2)

SN: 82105-UP

1шт.

|4

6136-61-2190

O-RING

SN: 61481-82104

1шт.

5

6136-61-2170

VALVE,THERMO

SN: 61481-UP

1шт.

6

6136-61-2160

SPRING

SN: 61481-UP

1шт.

7

6136-61-2180

CASE

SN: 61481-UP

1шт.

8

6136-61-2150

O-RING (K2)

SN: 82105-UP

1шт.

|8

6136-61-2150

O-RING

SN: 61481-82104

1шт.

9

6136-61-2140

PLUG

SN: 61481-UP

1шт.

10

07000-02018

O-RING (K2)

SN: 61481-UP

1шт.

11

600-651-1411

ELEMENT

SN: 61481-UP

1шт.

12

6136-61-2190

O-RING (K2)

SN: 82105-UP

2шт.

|12

6136-61-2190

O-RING

SN: 61481-82104

2шт.

13

6127-61-2971

O-RING (K2)

SN: 82105-UP

4шт.

|13

6127-61-2971

O-RING

SN: 61481-82104

4шт.

14

01580-10806

NUT

SN: 61481-UP

4шт.

15

01602-20825

WASHER,SPRING

SN: 61481-UP

4шт.

16

01641-20812

WASHER

SN: 61481-UP

4шт.

17

07042-00312

PLUG,(FOR SHIPPING)

SN: 61481-UP

1шт.

18

6136-61-2811

GASKET (K2)

SN: 61481-UP

1шт.

19

01010-30825

BOLT

SN: 61481-UP

5шт.

20

01010-30830

BOLT

SN: 61481-UP

2шт.

21

01010-30835

BOLT

SN: 61481-UP

16шт.

22

01010-30865

BOLT

SN: 61481-UP

1шт.

23

01602-00825

WASHER,SPRING

SN: 61481-UP

24шт.

24

01640-20816

WASHER

SN: 61481-UP

25шт.

25

6136-51-6311

PIPE,OIL

SN: 61481-UP

1шт.

26

07000-23022

O-RING (K2)

SN: 61481-UP

1шт.

27

07000-63028

O-RING (K2)

SN: 61481-UP

1шт.

28

01010-30830

BOLT

SN: 61481-UP

1шт.

29

01010-30840

BOLT

SN: 61481-UP

1шт.

30

01602-00825

WASHER,SPRING

SN: 61481-UP

2шт.

31

6140-61-6512

VALVE,DRAIN

SN: 61481-UP

1шт.

Выбрано товаров: 37