Запчасти Komatsu S6D108-1B - -

Схема запчастей Komatsu S6D108-1B - - -
FIT
1:1
100%

Артикул

Название

Примечание

Количество

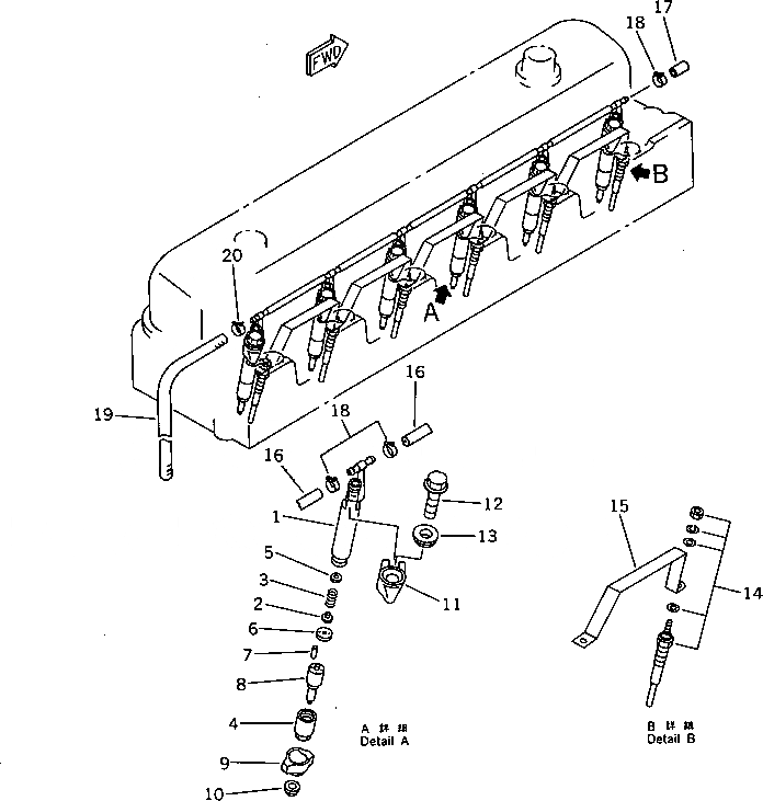
|1

6221-11-3100

NOZZLE HOLDER

SN: 11731-UP

1шт.

|$$2

-1шт.

1

DK105048-3560

SN: 11731-UP

1шт.

2

DK150560-0400

SEAT

SN: 11731-UP

1шт.

3

DK150562-4300

SPRING

SN: 11731-UP

1шт.

4

DK150655-0000

NUT

SN: 11731-UP

1шт.

5

DK150534-3600

SHIM

SN: 11731-UP

-2шт.

|5

DK150534-3700

SHIM

SN: 11731-UP

-2шт.

|5

DK150534-3800

SHIM

SN: 11731-UP

-2шт.

|5

DK150534-3900

SN: 11731-UP

-2шт.

|5

DK150534-4000

SHIM

SN: 11731-UP

-2шт.

|5

DK150534-4100

SHIM

SN: 11731-UP

-2шт.

|5

DK150534-4200

SHIM

SN: 11731-UP

-2шт.

|5

DK150534-4300

SHIM

SN: 11731-UP

-2шт.

|5

DK150534-4400

SHIM

SN: 11731-UP

-2шт.

6

DK150524-4200

SN: 11731-UP

1шт.

7

DK150508-5900

PIN

SN: 11731-UP

1шт.

8

6221-11-3120

NOZZLE

SN: 11731-UP

1шт.

9

6204-11-3850

SEAL

SN: 11731-UP

6шт.

10

6204-11-3880

GASKET

SN: 11731-UP

6шт.

11

6204-11-3830

WASHER

SN: 11731-UP

6шт.

12

01435-01040

BOLT

SN: 11731-UP

6шт.

13

6204-11-3810

NOZZLE HOLDER

SN: 11731-UP

6шт.

14

600-815-2770

GLOW PLUG

SN: 11731-UP

6шт.

15

6221-81-4110

LEAD WIRE

SN: 11731-UP

5шт.

16

6204-71-9120

HOSE

SN: 11731-UP

5шт.

17

6204-71-5581

CAP

SN: 11731-UP

1шт.

18

07285-00100

CLIP

SN: 11731-UP

11шт.

19

07270-40450

TUBE

SN: 11731-UP

1шт.

20

07285-00085

CLIP

SN: 11731-UP

1шт.

Выбрано товаров: 30