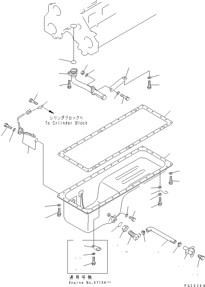
Запчасти Komatsu S6D125-1AM МАСЛЯНЫЙ ПОДДОН И ВСАСЫВАЮЩИЙ ПАТРУБОК(№7-) ДВИГАТЕЛЬ

Схема запчастей Komatsu S6D125-1AM - МАСЛЯНЫЙ ПОДДОН И ВСАСЫВАЮЩИЙ ПАТРУБОК(№7-) ДВИГАТЕЛЬ
1
2
3
4
5
6
7
7
8
9
10
11
12
13
14
15
16
17
17
18
19
20
21
22
23
24
25
26
27
27
28
29
30
31
32
33
34
35
FIT
1:1
100%

Артикул

Название

Примечание

Количество

1

6150-21-5550

PAN,OIL

SN: 54547-UP

1шт.

2

6672-12-6290

PLUG

SN: 54547-UP

1шт.

3

07005-01612

GASKET

SN: 54547-UP

1шт.

4

6150-21-5812

GASKET

SN: 62062-UP

1шт.

|4

0

GASKET (K2)

SN: 54547-62061

1шт.

5

01010-81025

BOLT

SN: 57194-UP

28шт.

|5

01010-81025

BOLT

SN: 54547-57193

29шт.

6

01010-81030

BOLT

SN: 54547-UP

6шт.

7

01640-21016

WASHER

SN: 54547-UP

35шт.

8

6130-22-5290

CLIP

SN: 54547-UP

1шт.

9

01010-81030

BOLT

SN: 54547-UP

1шт.

10

01643-31032

WASHER

SN: 54547-UP

1шт.

11

01640-21016

WASHER

SN: 54547-UP

1шт.

12

421-01-11180

ELBOW

SN: 54547-UP

1шт.

13

01583-13621

NUT

SN: 54547-UP

1шт.

14

421-01-11263

TUBE

SN: 54547-UP

1шт.

15

424-01-11110

PLUG

SN: 54547-UP

1шт.

16

07260-22040

HOSE

SN: 54547-UP

1шт.

17

07281-00359

CLAMP

SN: 54547-UP

2шт.

18

07002-23634

O-RING

SN: 54547-UP

1шт.

19

6150-51-6330

STRAINER,OIL

SN: 54547-UP

1шт.

20

07000-63045

O-RING (K2)

SN: 54547-UP

1шт.

21

01010-81035

BOLT

SN: 54547-UP

2шт.

22

6150-51-6340

BRACKET

SN: 54547-UP

1шт.

23

01010-81020

BOLT

SN: 54547-UP

1шт.

24

01640-01016

WASHER

SN: 54547-UP

1шт.

25

01010-81025

BOLT

SN: 54547-UP

1шт.

26

01580-01008

NUT

SN: 54547-UP

1шт.

27

01640-01016

WASHER

SN: 54547-UP

2шт.

28

7861-92-4210

SENSOR,OIL LEVEL

SN: 54547-UP

1шт.

|28

7861-91-4220

O-RING

SN: 54547-UP

1шт.

29

01435-20612

BOLT

SN: 61382-UP

3шт.

|29

0

BOLT

SN: 54547-61381

3шт.

30

01641-20608

WASHER

SN: 54547-61381

3шт.

31

08053-01510

CLIP

SN: 54547-UP

1шт.

32

01010-81016

BOLT

SN: 54547-UP

1шт.

33

6101-61-6620

CLAMP

SN: 57194-UP

1шт.

34

01010-81030

BOLT

SN: 57194-UP

1шт.

35

01643-31032

WASHER

SN: 57194-UP

1шт.

Выбрано товаров: 39