Запчасти Komatsu S6D125-1B8 ГОРНЫЙ ТОРМОЗ И КРЕПЛЕНИЕ ГОЛОВКА ЦИЛИНДРОВ

Схема запчастей Komatsu S6D125-1B8 - ГОРНЫЙ ТОРМОЗ И КРЕПЛЕНИЕ ГОЛОВКА ЦИЛИНДРОВ
FIT
1:1
100%

Артикул

Название

Примечание

Количество

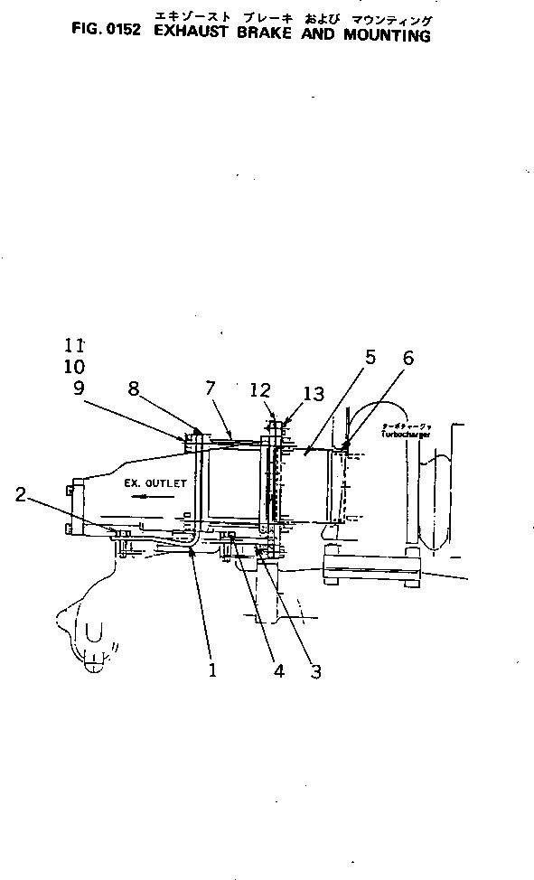
1

6152-11-5860

BRACKET

SN: 22230-UP

1шт.

2

01010-31020

BOLT

SN: 22230-UP

2шт.

3

6152-11-5850

BRACKET

SN: 22230-UP

1шт.

4

01010-51025

BOLT

SN: 22230-UP

2шт.

5

6152-11-5460

JOINT

SN: 22230-UP

1шт.

6

6151-11-5280

RING,SEAL

SN: 22230-UP

2шт.

7

6151-11-5951

EXHAUST BRAKE ASS'Y,(SEE FIG.0157 OR FIG.0157A)

SN: 62365-UP

1шт.

|7

0

EXHAUST BRAKE ASS'Y,(SEE FIG.0157)

SN: 22230-62364

1шт.

8

6151-11-5750

GASKET (K1)

SN: 22230-UP

2шт.

9

01011-31245

BOLT

SN: 22230-UP

4шт.

10

01580-01210

NUT

SN: 22230-UP

4шт.

11

01640-01223

WASHER

SN: 22230-UP

4шт.

12

6152-11-5470

GASKET (K1)

SN: 22230-UP

1шт.

13

01010-30820

BOLT

SN: 22230-UP

2шт.

Выбрано товаров: 0