Запчасти Komatsu S6D125-1B8 ТРУБОПРОВОД ВПУСКА ВОЗДУХА И СОЕДИН-Е ГОЛОВКА ЦИЛИНДРОВ

Схема запчастей Komatsu S6D125-1B8 - ТРУБОПРОВОД ВПУСКА ВОЗДУХА И СОЕДИН-Е ГОЛОВКА ЦИЛИНДРОВ
FIT
1:1
100%

Артикул

Название

Примечание

Количество

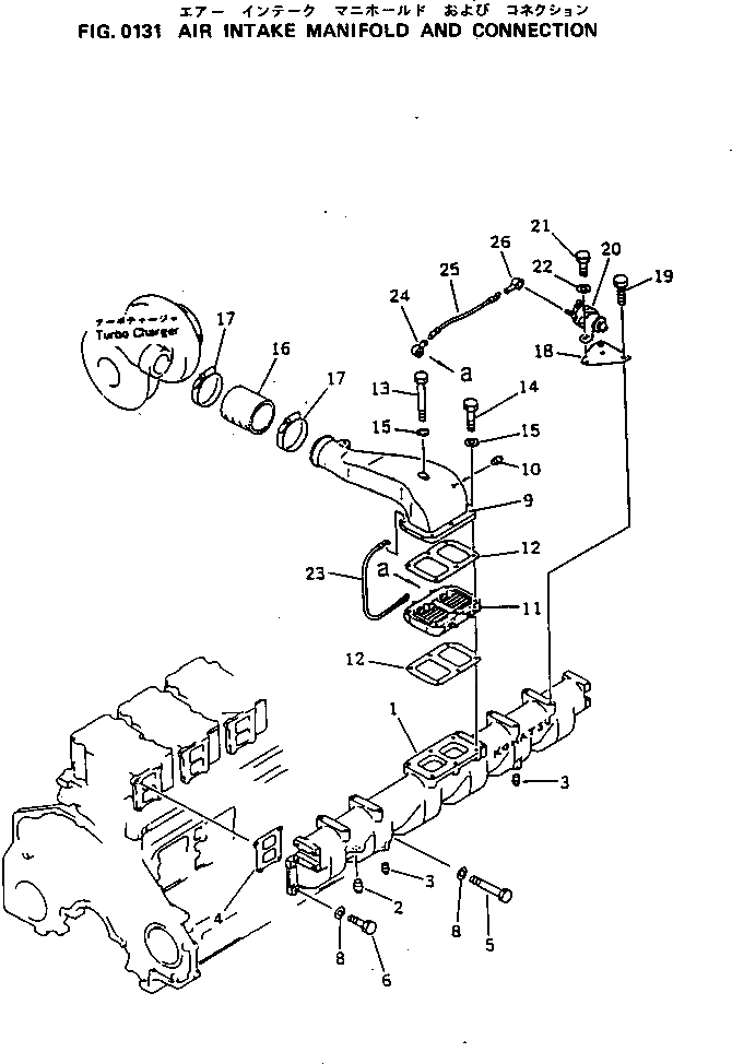
|1

6151-11-4910

INTAKE MANIFOLD A.

SN: 22230-UP

1шт.

1

0

MANIFOLD,INTAKE

SN: 22230-UP

1шт.

2

07042-00415

PLUG,(FOR SHIPPING)

SN: 22230-UP

1шт.

3

07042-00108

PLUG

SN: 22230-UP

2шт.

4

6150-11-4810

GASKET (K1)

SN: 22230-UP

6шт.

5

01011-51010

BOLT

SN: 22230-UP

8шт.

6

01010-51030

BOLT

SN: 22230-UP

16шт.

8

01640-21016

WASHER

SN: 22230-UP

24шт.

9

6151-11-4331

CONNECTOR

SN: 22230-UP

1шт.

10

07042-00108

PLUG

SN: 25308-UP

1шт.

|10

07042-00108

PLUG

SN: 22230-25307

2шт.

11

600-815-3810

HEATER

SN: 22230-UP

1шт.

12

6150-11-4820

GASKET (K1)

SN: 22230-UP

2шт.

13

01011-51045

BOLT

SN: 22230-UP

1шт.

14

01010-51055

BOLT

SN: 22230-UP

5шт.

15

01640-21016

WASHER

SN: 22230-UP

6шт.

16

6151-11-4410

HOSE

SN: 22230-UP

1шт.

17

07281-01029

CLAMP

SN: 22230-UP

2шт.

18

6151-81-4510

BRACKET

SN: 22230-UP

1шт.

19

01010-51025

BOLT

SN: 22230-UP

2шт.

20

600-815-2170

SWITCH¤ HEATER

SN: 22230-UP

1шт.

21

01010-50610

BOLT

SN: 22230-UP

2шт.

22

01640-20610

WASHER

SN: 22230-UP

2шт.

23

6678-81-4340

WIRE¤ 170MM

SN: 22230-UP

1шт.

24

08038-00519

CAP

SN: 22230-UP

1шт.

25

6151-81-4410

WIRE¤ 265MM

SN: 22230-UP

1шт.

26

6134-81-4910

CAP

SN: 22230-UP

1шт.

Выбрано товаров: 0