Запчасти Komatsu S6D125-1CC-C СМАЗЫВ. НАСОС И ВСАСЫВ. PIPE СИСТЕМА СМАЗКИ МАСЛ. СИСТЕМА

Схема запчастей Komatsu S6D125-1CC-C - СМАЗЫВ. НАСОС И ВСАСЫВ. PIPE СИСТЕМА СМАЗКИ МАСЛ. СИСТЕМА
FIT
1:1
100%

Артикул

Название

Примечание

Количество

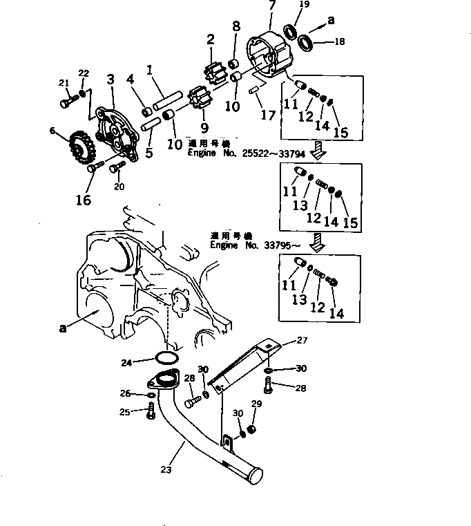
|1

6151-51-1005

OIL PUMP ASS'Y

SN: 33795-UP

1шт.

|1

0

OIL PUMP ASS'Y

SN: 22313-33794

1шт.

|1

0

OIL PUMP ASS'Y

SN: (22313-25521)

1шт.

|1

6151-51-1303

SHAFT ASS'Y

SN: 22313-UP

1шт.

1

6151-51-1313

SHAFT

SN: 22313-UP

1шт.

2

6151-51-1511

GEAR

SN: 22313-UP

1шт.

|3

6151-51-1102

COVER ASS'Y

SN: 22313-UP

1шт.

3

0

COVER

SN: 22313-UP

1шт.

4

6151-51-1430

BUSHING

SN: 22313-UP

1шт.

5

6151-51-1320

SHAFT

SN: 22313-UP

1шт.

6

6151-51-1610

GEAR

SN: 22313-UP

1шт.

|7

6151-51-1203

BODY ASS'Y

SN: 33795-UP

1шт.

|7

6151-51-1202

BODY ASS'Y

SN: 22313-33794

1шт.

7

0

BODY

SN: 33795-UP

1шт.

|7

0

BODY

SN: 22313-33794

1шт.

8

6151-51-1430

BUSHING

SN: 22313-UP

1шт.

|9

6151-51-1401

GEAR ASS'Y

SN: 22313-UP

1шт.

9

0

GEAR

SN: 22313-UP

1шт.

10

6151-51-1421

BUSHING

SN: 22313-UP

2шт.

11

6136-52-1640

VALVE

SN: 22313-UP

1шт.

12

6136-52-1650

SPRING

SN: 22313-UP

1шт.

13

6151-51-1710

SHIM¤ 0.8MM

SN: 25522-UP

1шт.

14

6150-51-1660

PLUG,RETAINING

SN: 33795-UP

1шт.

|14

6150-51-1652

RETAINER

SN: 22313-33794

1шт.

|14

0

RETAINER

SN: (22313-25521)

1шт.

15

04065-01610

RING,SNAP

SN: 22313-33794

1шт.

16

01010-30825

BOLT

SN: 22313-UP

4шт.

17

6136-52-1620

PIN

SN: 22313-UP

1шт.

18

6150-51-1710

RING (K2)

SN: 22313-UP

1шт.

19

6150-51-1720

RING (K2)

SN: 22313-UP

1шт.

20

01010-31025

BOLT

SN: 22313-UP

3шт.

21

01010-31035

BOLT

SN: 22313-UP

1шт.

22

01643-31032

WASHER

SN: 22313-UP

1шт.

23

6150-51-6230

STRAINER

SN: 22313-UP

1шт.

24

07000-63045

O-RING (K2)

SN: 22313-UP

1шт.

25

01010-31025

BOLT

SN: 22313-UP

2шт.

26

01640-01016

WASHER

SN: 22313-UP

2шт.

27

6150-51-6241

BRACKET

SN: 22313-UP

1шт.

28

01010-31020

BOLT

SN: 22313-UP

2шт.

29

01580-01008

NUT

SN: 22313-UP

1шт.

30

01640-01016

WASHER

SN: 22313-UP

3шт.

Выбрано товаров: 41