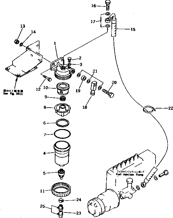
Запчасти Komatsu S6D125-1CC-C ВОДООТДЕЛИТЕЛЬ И КРЕПЛЕНИЕ ТОПЛИВН. СИСТЕМА

Схема запчастей Komatsu S6D125-1CC-C - ВОДООТДЕЛИТЕЛЬ И КРЕПЛЕНИЕ ТОПЛИВН. СИСТЕМА
FIT
1:1
100%

Артикул

Название

Примечание

Количество

|1

600-311-9731

WATER SEPARATOR A.

SN: 22313-UP

1шт.

1

600-311-9911

COVER

SN: 22313-UP

1шт.

2

6110-73-6231

PLUG

SN: 22313-UP

1шт.

3

07005-00812

GASKET

SN: 22313-UP

1шт.

4

600-311-9920

CASE

SN: 22313-UP

1шт.

5

600-311-9760

PLUG,DRAIN

SN: 22313-UP

1шт.

6

600-311-9950

RING

SN: 22313-UP

1шт.

7

600-311-9890

O-RING

SN: 22313-UP

1шт.

8

600-311-9941

BAFFLE,BAFFLE

SN: 22313-UP

1шт.

9

600-311-9961

GASKET

SN: 22313-UP

1шт.

10

600-311-9971

SCREEN

SN: 22313-UP

1шт.

11

600-311-9931

NUT,RING

SN: 22313-UP

1шт.

12

01010-51030

BOLT

SN: 22313-UP

2шт.

13

01580-11008

NUT

SN: 22313-UP

2шт.

14

01640-21016

WASHER

SN: 22313-UP

2шт.

15

6150-71-5450

HOSE

SN: 22313-UP

1шт.

16

07206-31014

BOLT,JOINT

SN: 22313-UP

1шт.

17

07005-01412

GASKET (K2)

SN: 22313-UP

2шт.

18

6128-71-1932

JOINT

SN: 22313-UP

1шт.

19

6151-71-9710

SPACER

SN: 22313-UP

1шт.

20

6127-71-5710

BOLT,JOINT

SN: 22313-UP

1шт.

21

07005-01412

GASKET (K2)

SN: 22313-UP

3шт.

22

08034-00519

BAND

SN: 22313-UP

1шт.

23

07287-00813

HOSE

SN: 22313-UP

1шт.

24

07285-00125

CLIP

SN: 22313-UP

1шт.

25

08034-00414

BAND

SN: 22313-UP

2шт.

Выбрано товаров: 26