Запчасти Komatsu S6D125-1CC-C ВОДН. BYPASS ТРУБЫ СИСТЕМА ОХЛАЖДЕНИЯ

Схема запчастей Komatsu S6D125-1CC-C - ВОДН. BYPASS ТРУБЫ СИСТЕМА ОХЛАЖДЕНИЯ
FIT
1:1
100%

Артикул

Название

Примечание

Количество

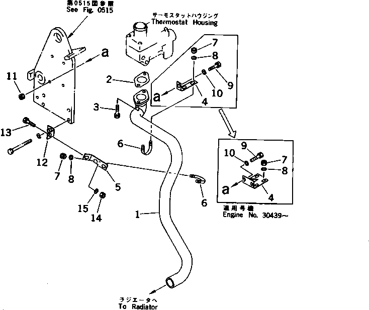
1

6150-61-6360

TUBE

SN: 22313-UP

1шт.

2

6150-61-6830

GASKET (K1)

SN: 22313-UP

1шт.

3

01010-51025

BOLT

SN: 22313-UP

2шт.

4

6150-61-6390

BRACKET

SN: 30439-UP

1шт.

|4

6136-21-7770

PLATE

SN: 22313-30438

1шт.

5

6150-61-6380

BRACKET

SN: 30439-UP

1шт.

|5

6136-21-7770

PLATE

SN: 22313-30438

1шт.

6

07283-24346

CLIP

SN: 30439-UP

3шт.

|6

07283-24346

CLIP

SN: 22313-30438

2шт.

7

01599-01011

NUT

SN: 30439-UP

6шт.

|7

01599-01011

NUT

SN: 22313-30438

4шт.

8

01643-31032

WASHER

SN: 30439-UP

6шт.

|8

01643-31032

WASHER

SN: 22313-30438

4шт.

9

01010-51035

BOLT

SN: 30439-UP

2шт.

|9

01010-51035

BOLT

SN: 22313-30438

1шт.

10

01643-31032

WASHER

SN: 30439-UP

2шт.

|10

01643-31032

WASHER

SN: 22313-30438

1шт.

11

01580-11008

NUT

SN: 30439-UP

2шт.

|11

01580-11008

NUT

SN: 22313-30438

1шт.

12

6150-61-6370

BRACKET

SN: 22313-UP

1шт.

13

01010-51025

BOLT

SN: 30439-UP

1шт.

|13

01010-51020

BOLT

SN: 22313-30438

1шт.

14

01580-11008

NUT

SN: 22313-UP

1шт.

15

01643-31032

WASHER

SN: 22313-UP

1шт.

Выбрано товаров: 24