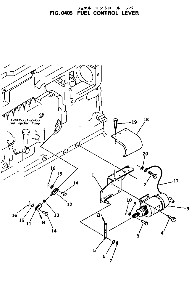
Запчасти Komatsu S6D125-1K РЫЧАГ УПРАВЛ-Я ПОДАЧЕЙ ТОПЛИВА ТОПЛИВН. СИСТЕМА

Схема запчастей Komatsu S6D125-1K - РЫЧАГ УПРАВЛ-Я ПОДАЧЕЙ ТОПЛИВА ТОПЛИВН. СИСТЕМА
FIT
1:1
100%

Артикул

Название

Примечание

Количество

1

6151-81-7310

BRACKET

SN: 10001-UP

1шт.

2

01010-51020

BOLT

SN: 10001-UP

2шт.

3

600-815-1162

SOLENOID ASS'Y

SN: 19599-UP

1шт.

3

0

SOLENOID ASS'Y

SN: 10001-19598

1шт.

4

01010-50612

BOLT

SN: 10001-UP

4шт.

5

6151-81-7320

PLATE

SN: 10001-UP

1шт.

6

01641-20608

WASHER

SN: 10001-UP

1шт.

7

04052-00633

PIN,SNAP

SN: 10001-UP

1шт.

8

04205-10516

PIN

SN: 10001-UP

1шт.

9

01641-20508

WASHER

SN: 10001-UP

1шт.

10

04052-00530

PIN,SNAP

SN: 10001-UP

1шт.

11

6151-81-7340

YOKE

SN: 10001-UP

1шт.

12

6151-81-7330

ROD

SN: 10001-UP

1шт.

13

01580-10605

NUT

SN: 10001-UP

1шт.

14

04205-10620

PIN

SN: 10001-UP

2шт.

15

01641-20608

WASHER

SN: 10001-UP

2шт.

16

04052-00633

PIN,SNAP

SN: 10001-UP

2шт.

17

6151-81-4440

WIRE, 170MM

SN: 10001-UP

1шт.

18

6151-81-7350

COVER

SN: 10001-UP

1шт.

19

01010-51016

BOLT

SN: 10001-UP

3шт.

20

01640-01016

WASHER

SN: 10001-UP

2шт.

Выбрано товаров: 21