Запчасти Komatsu S6D125-1KK ВЕНТИЛЯТОР ОХЛАЖДЕНИЯ И КРЕПЛЕНИЕ СИСТЕМА ОХЛАЖДЕНИЯ

Схема запчастей Komatsu S6D125-1KK - ВЕНТИЛЯТОР ОХЛАЖДЕНИЯ И КРЕПЛЕНИЕ СИСТЕМА ОХЛАЖДЕНИЯ
FIT
1:1
100%

Артикул

Название

Примечание

Количество

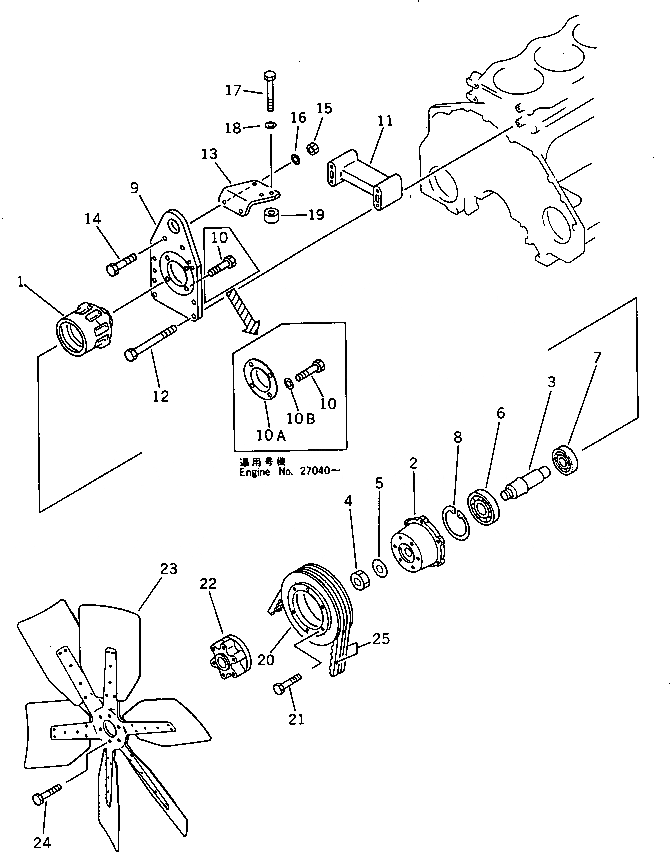
|1

6151-61-3101

CASE ASS'Y

SN: 26750-UP

1шт.

1

6151-61-3152

CASE

SN: 26750-UP

1шт.

2

6151-61-3170

SHAFT

SN: 26750-UP

1шт.

3

06037-06206

BEARING,BALL

SN: 26750-UP

1шт.

4

06037-06307

BEARING,BALL

SN: 26750-UP

1шт.

5

04065-08025

RING,SNAP

SN: 26750-UP

1шт.

6

6151-61-3110

HUB

SN: 26750-UP

1шт.

7

01583-02414

NUT

SN: 26750-UP

1шт.

8

01643-32460

WASHER

SN: 26750-UP

1шт.

9

6151-61-4430

PLATE

SN: 26750-UP

1шт.

10

01010-51030

BOLT

SN: 26750-UP

4шт.

10A

6151-61-3970

COVER

SN: 26751-UP

1шт.

10B

01641-21016

WASHER

SN: 26751-UP

4шт.

11

6150-61-3540

SPACER

SN: 26750-UP

1шт.

12

01011-51015

BOLT

SN: 26750-UP

4шт.

13

6151-61-3550

BRACKET

SN: 26750-UP

1шт.

14

01010-51040

BOLT

SN: 26750-UP

2шт.

15

01580-11008

NUT

SN: 26750-UP

2шт.

16

01643-31032

WASHER

SN: 26750-UP

2шт.

17

01010-51095

BOLT,(SEE FIG.0111)

SN: 26750-UP

2шт.

18

01640-21016

WASHER,(SEE FIG.0111)

SN: 26750-UP

2шт.

19

6131-12-5920

SPACER

SN: 26750-UP

2шт.

20

6151-61-3680

PULLEY¤ HARDENING

SN: 26750-UP

1шт.

|20

6151-61-3670

PULLEY¤ HARDENING,(NOISE SUPPRESSION SPEC.)

SN: 26750-UP

1шт.

21

01010-51030

BOLT

SN: 26750-UP

6шт.

22

6151-61-3940

SPACER

SN: 26750-UP

1шт.

23

600-633-0801

FAN

SN: 26750-UP

1шт.

24

01010-51080

BOLT

SN: 26750-UP

6шт.

25

04121-22268

V-BELT SET

SN: 26750-UP

1шт.

|25

04121-22270

V-BELT SET,(NOISE SUPPRESSION SPEC.)

SN: 26750-UP

1шт.

Выбрано товаров: 30