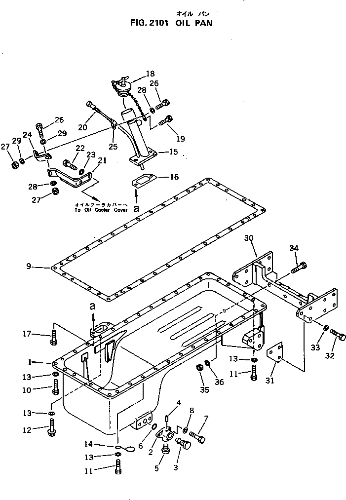
Запчасти Komatsu S6D125-1L МАСЛЯНЫЙ ПОДДОН БЛОК ЦИЛИНДРОВ

Схема запчастей Komatsu S6D125-1L - МАСЛЯНЫЙ ПОДДОН БЛОК ЦИЛИНДРОВ
FIT
1:1
100%

Артикул

Название

Примечание

Количество

1

6150-21-5220

PAN

SN: 19950-UP

1шт.

2

6693-22-5600

VALVE ASS'Y

SN: 19950-UP

1шт.

2

0

BODY

SN: 19950-UP

1шт.

3

0

VALVE

SN: 19950-UP

1шт.

4

04020-00514

PIN

SN: 19950-UP

1шт.

5

0

PLUG

SN: 19950-UP

1шт.

6

07000-63028

O-RING (KIT)

SN: 19950-UP

1шт.

7

01010-51025

BOLT

SN: 19950-UP

2шт.

8

01640-21016

WASHER

SN: 19950-UP

2шт.

9

0

GASKET (KIT)

SN: (19950-)

1шт.

10

01010-51025

BOLT

SN: 19950-UP

27шт.

11

01010-51030

BOLT

SN: 19950-UP

7шт.

12

6150-81-9120

BOLT

SN: 19950-UP

1шт.

13

01640-21016

WASHER

SN: 19950-UP

36шт.

14

6130-22-5290

CLIP

SN: 19950-UP

1шт.

15

6150-21-5481

OIL FILLER ASS'Y

SN: 19950-UP

1шт.

16

6150-21-5820

GASKET (KIT)

SN: 19950-UP

1шт.

17

01010-51025

BOLT

SN: 19950-UP

2шт.

18

0

CAP

SN: 19950-UP

1шт.

19

01010-51025

BOLT

SN: 19950-UP

1шт.

20

6136-21-5322

GAUGE

SN: 19950-UP

1шт.

21

6150-21-5751

BRACKET

SN: 19950-UP

1шт.

22

01010-51035

BOLT

SN: 19950-UP

2шт.

23

01640-21016

WASHER

SN: 19950-UP

2шт.

24

6150-21-5790

STAY

SN: 19950-UP

1шт.

25

6144-21-5650

CLIP

SN: 19950-UP

1шт.

26

01010-50820

BOLT

SN: 19950-UP

2шт.

27

01580-10806

NUT

SN: 19950-UP

2шт.

28

01642-20810

WASHER

SN: 19950-UP

2шт.

29

01643-30823

WASHER

SN: 19950-UP

2шт.

30

6151-21-5130

BRACKET

SN: 19950-UP

1шт.

31

6656-21-5140

SHIM ASS'Y

SN: 19950-UP

2шт.

32

0

BOLT

SN: 19950-UP

14шт.

33

01640-21426

WASHER

SN: 19950-UP

14шт.

34

0

BOLT

SN: 19950-UP

3шт.

35

01580-11210

NUT

SN: 19950-UP

3шт.

36

01640-21223

WASHER

SN: 19950-UP

3шт.

Выбрано товаров: 37