Запчасти Komatsu S6D125-1L ГОЛОВКА ЦИЛИНДРОВ ГОЛОВКА ЦИЛИНДРОВ

Схема запчастей Komatsu S6D125-1L - ГОЛОВКА ЦИЛИНДРОВ ГОЛОВКА ЦИЛИНДРОВ
FIT
1:1
100%

Артикул

Название

Примечание

Количество

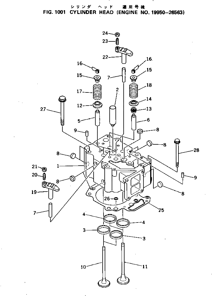
1

6151-11-1020

CYLINDER HEAD ASS'Y

SN: 19950-UP

6шт.

1

0

CYLINDER HEAD ASS'Y

SN: 19950-UP

1шт.

1

6151-11-1110

HEAD

SN: 19950-UP

1шт.

2

6136-11-1130

SLEEVE

SN: 19950-UP

1шт.

3

6150-11-1331

INSERT (STD)

SN: 19950-UP

2шт.

3

6150-19-1331

INSERT, 0.25MM (OS)

SN: 19950-UP

2шт.

3

6150-18-1331

INSERT, 0.50MM (OS)

SN: 19950-UP

2шт.

3

6150-17-1331

INSERT, 0.75MM (OS)

SN: 19950-UP

2шт.

3

6150-16-1331

INSERT, 1.00MM (OS)

SN: 19950-UP

2шт.

4

6150-11-1320

INSERT (STD)

SN: 19950-UP

2шт.

4

6150-19-1320

INSERT, 0.25MM (OS)

SN: 19950-UP

2шт.

4

6150-18-1320

INSERT, 0.50MM (OS)

SN: 19950-UP

2шт.

4

6150-17-1320

INSERT, 0.75MM (OS)

SN: 19950-UP

2шт.

4

6150-16-1320

INSERT, 1.00MM (OS)

SN: 19950-UP

2шт.

5

6150-12-1341

GUIDE

SN: 19950-UP

2шт.

5

0

GUIDE

SN: 19950-UP

2шт.

6

6150-12-1351

GUIDE

SN: 19950-UP

2шт.

6

0

GUIDE

SN: 19950-UP

2шт.

7

6150-11-1140

GUIDE

SN: 19950-UP

2шт.

8

6162-13-1150

PLUG

SN: 19950-UP

8шт.

9

04020-00820

PIN

SN: 19950-UP

2шт.

10

6150-41-4111

VALVE

SN: 19950-UP

2шт.

11

6150-41-4230

VALVE

SN: 19950-UP

2шт.

12

6150-41-4540

ROTATOR

SN: 19950-UP

2шт.

13

6140-41-4540

SEAL (KIT)

SN: 19950-UP

2шт.

14

6150-41-4430

SEAT

SN: 19950-UP

2шт.

15

6150-41-4510

SEAT

SN: 19950-UP

4шт.

16

6136-42-4520

COTTER

SN: 19950-UP

8шт.

17

6150-41-4420

SPRING

SN: 19950-UP

2шт.

18

6150-41-4411

SPRING

SN: 19950-UP

2шт.

19

6150-41-5600

CROSSHEAD ASS'Y

SN: 19950-UP

6шт.

19

6150-41-5611

CROSSHEAD

SN: 19950-UP

1шт.

20

6150-41-5620

SCREW

SN: 19950-UP

1шт.

21

6150-41-5630

NUT

SN: 19950-UP

1шт.

22

6150-41-5700

CROSSHEAD ASS'Y

SN: 19950-UP

6шт.

22

6150-41-5710

CROSSHEAD

SN: 19950-UP

1шт.

23

6150-41-5620

SCREW

SN: 19950-UP

1шт.

24

6150-41-5630

NUT

SN: 19950-UP

1шт.

25

0

GASKET (KIT)

SN: 19950-UP

6шт.

26

0

GROMMET

SN: 19950-UP

4шт.

27

6150-11-1610

BOLT

SN: 19950-UP

36шт.

28

6150-81-9160

BOLT

SN: 19950-UP

6шт.

Выбрано товаров: 42