Запчасти Komatsu S6D125-1L СИСТЕМА СМАЗКИ МАСЛ. КОРПУС СИСТЕМА СМАЗКИ МАСЛ. СИСТЕМА

Схема запчастей Komatsu S6D125-1L - СИСТЕМА СМАЗКИ МАСЛ. КОРПУС СИСТЕМА СМАЗКИ МАСЛ. СИСТЕМА
FIT
1:1
100%

Артикул

Название

Примечание

Количество

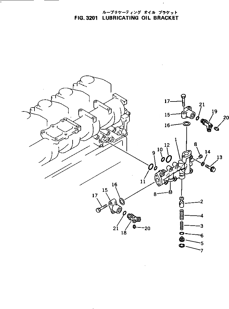
1

0

ADAPTER ASS'Y

SN: 19950-UP

1шт.

1

6151-51-5611

BODY

SN: 19950-UP

1шт.

2

0

VALVE

SN: 19950-UP

1шт.

3

6151-51-5690

SPRING

SN: 19950-UP

1шт.

4

6151-51-5680

SPRING

SN: 19950-UP

1шт.

5

6150-51-5641

PLUG

SN: 19950-UP

1шт.

6

07000-62020

O-RING

SN: 19950-UP

1шт.

7

04065-02412

RING

SN: 19950-UP

1шт.

8

07043-00312

PLUG

SN: 19950-UP

2шт.

9

07000-62015

O-RING (KIT)

SN: 19950-UP

1шт.

10

07000-62020

O-RING (KIT)

SN: 19950-UP

1шт.

11

07000-63028

O-RING (KIT)

SN: 19950-UP

1шт.

12

07000-63035

O-RING (KIT)

SN: 19950-UP

1шт.

13

6150-81-9170

BOLT

SN: 19950-UP

7шт.

14

01640-21016

WASHER

SN: 19950-UP

7шт.

15

6150-51-5710

CONNECTOR

SN: 19950-UP

2шт.

16

6124-61-2181

GROMMET (KIT)

SN: 19950-UP

2шт.

17

0

BOLT

SN: 19950-UP

4шт.

18

07236-50628

ELBOW

SN: 19950-UP

1шт.

19

07235-50628

ELBOW

SN: 19950-UP

1шт.

20

07042-20108

PLUG

SN: 19950-UP

2шт.

21

07002-32434

O-RING (KIT)

SN: 19950-UP

2шт.

Выбрано товаров: 22