Запчасти Komatsu S6D125-1N МАСЛ. ФИЛЬТР СИСТЕМА СМАЗКИ МАСЛ. СИСТЕМА

Схема запчастей Komatsu S6D125-1N - МАСЛ. ФИЛЬТР СИСТЕМА СМАЗКИ МАСЛ. СИСТЕМА
FIT
1:1
100%

Артикул

Название

Примечание

Количество

|1

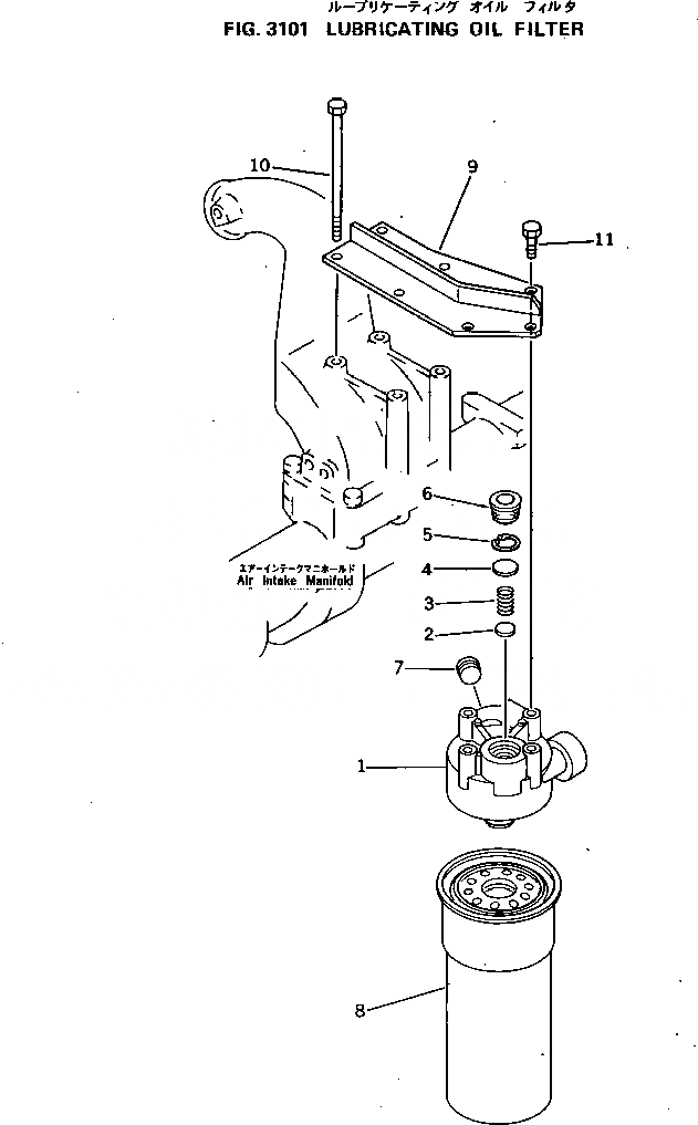
6151-51-5301

OIL FILTER ASS'Y

SN: 12025-UP

1шт.

1

6151-51-5310

HEAD

SN: 12025-UP

1шт.

2

6150-51-4920

DISC

SN: 12025-UP

1шт.

3

6151-51-5320

SPRING

SN: 12025-UP

1шт.

4

6150-51-4360

RETAINER

SN: 12025-UP

1шт.

5

04065-03012

RING

SN: 12025-UP

1шт.

6

02720-21616

PLUG

SN: 12025-UP

1шт.

7

07043-50617

PLUG

SN: 12025-UP

1шт.

8

600-211-1230

CARTRIDGE

SN: 12025-UP

1шт.

9

6151-51-5260

BRACKET

SN: 12025-UP

1шт.

10

01011-51080

BOLT

SN: 12025-UP

4шт.

11

01010-51025

BOLT

SN: 12025-UP

4шт.

Выбрано товаров: 12