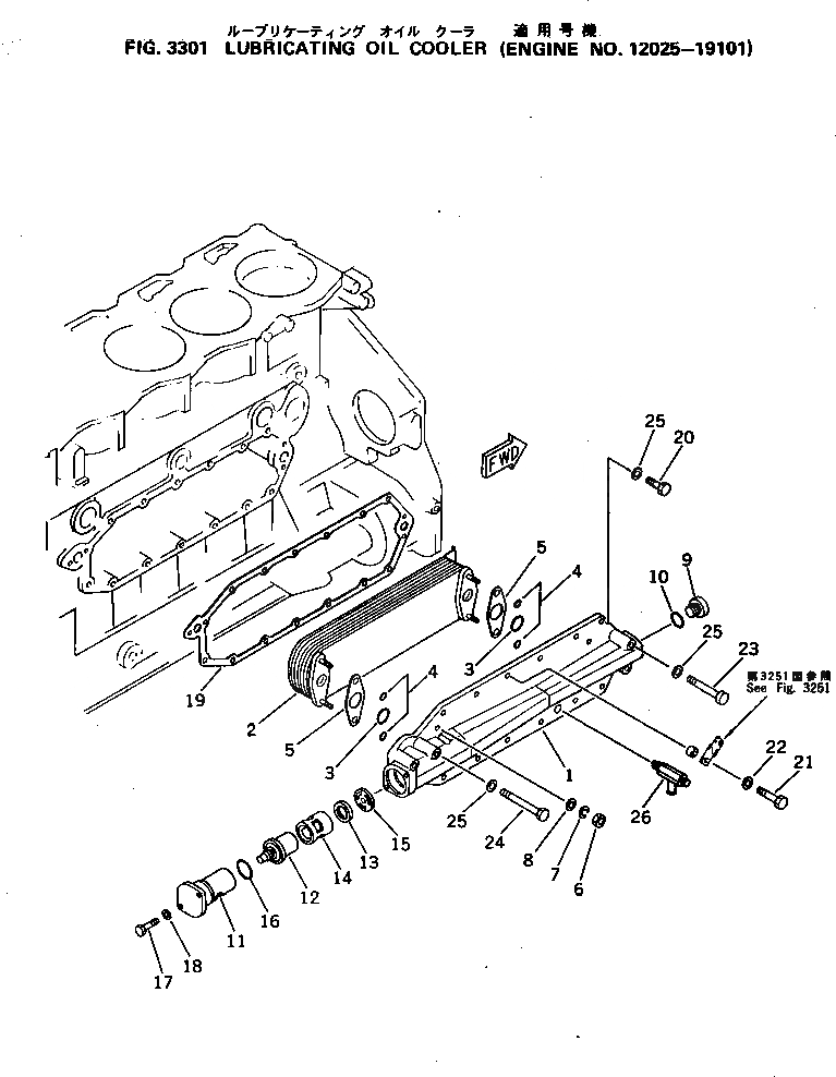
Запчасти Komatsu S6D125-1N СИСТЕМА СМАЗКИ МАСЛООХЛАДИТЕЛЬ(№-9) СИСТЕМА СМАЗКИ МАСЛ. СИСТЕМА

Схема запчастей Komatsu S6D125-1N - СИСТЕМА СМАЗКИ МАСЛООХЛАДИТЕЛЬ(№-9) СИСТЕМА СМАЗКИ МАСЛ. СИСТЕМА
FIT
1:1
100%

Артикул

Название

Примечание

Количество

|$0

6151-61-2103

OIL COOLER ASS'Y

SN: 12025-@

1шт.

|$1

0

OIL COOLER ASS'Y

SN: 12025-19101

1шт.

1

6150-61-2122

COVER

SN: 12025-19101

1шт.

2

6151-61-2111

ELEMENT

SN: 12025-@

1шт.

3

6150-61-2510

O-RING (K2)

SN: 12025-@

2шт.

4

6150-61-2520

O-RING (K2)

SN: 12025-19101

4шт.

5

6150-61-2560

GASKET

SN: 12025-@

2шт.

6

01582-11008

NUT

SN: 12025-@

4шт.

7

01602-21030

WASHER

SN: 12025-@

4шт.

8

01640-21016

WASHER

SN: 12025-@

4шт.

9

6150-61-2530

PLUG

SN: 12025-@

1шт.

10

6150-61-2550

O-RING (K2)

SN: 12025-@

1шт.

11

6150-61-2131

COVER

SN: 12025-@

1шт.

12

6150-61-2620

THERMOSTAT

SN: 12025-@

1шт.

13

6150-61-2540

SEAL (K2)

SN: 12025-@

1шт.

14

6150-61-2141

CASE

SN: 12025-@

1шт.

15

6150-61-2151

PLATE

SN: 12025-@

1шт.

16

07000-63042

O-RING (K2)

SN: 12025-@

1шт.

17

01010-50825

BOLT

SN: 12025-@

2шт.

18

01640-20816

WASHER

SN: 12025-@

2шт.

19

6150-61-2811

GASKET (K2)

SN: 12025-19101

1шт.

20

01010-51025

BOLT

SN: 12025-@

12шт.

21

01010-51040

BOLT

SN: 12025-@

1шт.

22

01640-21016

WASHER

SN: 12025-@

1шт.

23

01010-51065

BOLT

SN: 12025-@

2шт.

24

01010-51080

BOLT

SN: 12025-@

2шт.

25

01640-21016

WASHER

SN: 12025-@

16шт.

26

6140-61-6512

VALVE

SN: 12025-@

1шт.

Выбрано товаров: 28