Запчасти Komatsu S6D125-1N СИСТЕМА СМАЗКИ МАСЛООХЛАДИТЕЛЬ(№9-) СИСТЕМА СМАЗКИ МАСЛ. СИСТЕМА

Схема запчастей Komatsu S6D125-1N - СИСТЕМА СМАЗКИ МАСЛООХЛАДИТЕЛЬ(№9-) СИСТЕМА СМАЗКИ МАСЛ. СИСТЕМА
FIT
1:1
100%

Артикул

Название

Примечание

Количество

|$0

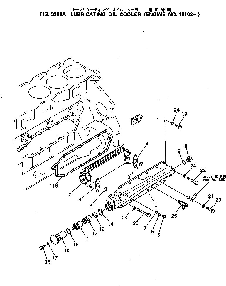
6151-61-2103

OIL COOLER ASS'Y

SN: 19102-UP

1шт.

1

6150-61-2123

COVER

SN: 19102-UP

1шт.

2

6151-61-2111

ELEMENT

SN: 12025-UP

1шт.

3

6150-61-2510

O-RING (K2)

SN: 12025-UP

2шт.

4

6150-61-2560

GASKET (K2)

SN: 12025-UP

2шт.

5

01582-11008

NUT

SN: 12025-UP

4шт.

6

01602-21030

WASHER

SN: 12025-UP

4шт.

7

01640-21016

WASHER

SN: 12025-UP

4шт.

8

6150-61-2530

PLUG

SN: 12025-UP

1шт.

9

6150-61-2550

O-RING (K2)

SN: 12025-UP

1шт.

10

6150-61-2131

COVER

SN: 12025-UP

1шт.

11

6150-61-2620

THERMOSTAT

SN: 12025-UP

1шт.

12

6150-61-2540

SEAL (K2)

SN: 12025-UP

1шт.

13

6150-61-2141

CASE

SN: 12025-UP

1шт.

14

6150-61-2151

PLATE

SN: 12025-UP

1шт.

15

07000-63042

O-RING (K2)

SN: 12025-UP

1шт.

16

01010-50825

BOLT

SN: 12025-UP

2шт.

17

01640-20816

WASHER

SN: 12025-UP

2шт.

18

6150-61-2812

GASKET (K2)

SN: 20002-UP

1шт.

18

0

GASKET

SN: 19102-20001

1шт.

19

01010-51025

BOLT

SN: 12025-UP

12шт.

20

01010-51040

BOLT

SN: 12025-UP

1шт.

21

01640-21016

WASHER

SN: 12025-UP

1шт.

22

01010-51065

BOLT

SN: 12025-UP

2шт.

23

01010-51080

BOLT

SN: 12025-UP

2шт.

24

01640-21016

WASHER

SN: 12025-UP

16шт.

25

6140-61-6512

VALVE

SN: 12025-UP

1шт.

Выбрано товаров: 0