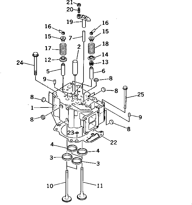
Запчасти Komatsu S6D125-1R ГОЛОВКА ЦИЛИНДРОВ(№79-78) ГОЛОВКА ЦИЛИНДРОВ

Схема запчастей Komatsu S6D125-1R - ГОЛОВКА ЦИЛИНДРОВ(№79-78) ГОЛОВКА ЦИЛИНДРОВ
FIT
1:1
100%

Артикул

Название

Примечание

Количество

|1

6151-11-1010

CYLINDER HEAD ASS'Y,WITH VALVE

SN: 16790-@

6шт.

|1

6151-11-1100

CYLINDER HEAD ASS'Y,VALVE LESS

SN: 16790-@

1шт.

1

0

HEAD,CYLINDER

SN: 16790-@

1шт.

2

6136-11-1130

SLEEVE

SN: 16790-@

1шт.

3

6150-11-1331

INSERT,INTAKE VALVE (STD)

SN: 16790-@

2шт.

|3

6150-19-1331

INSERT¤ 0.25MM,INTAKE VALVE (OS)

SN: 16790-@

2шт.

|3

6150-18-1331

INSERT¤ 0.50MM,INTAKE VALVE (OS)

SN: 16790-@

2шт.

|3

6150-17-1331

INSERT¤ 0.75MM,INTAKE VALVE (OS)

SN: 16790-@

2шт.

|3

6150-16-1331

INSERT¤ 1.00MM,INTAKE VALVE (OS)

SN: 16790-@

2шт.

4

6150-11-1320

INSERT,EXHAUST VALVE (STD)

SN: 16790-@

2шт.

|4

6150-19-1320

INSERT¤ 0.25MM,EXHAUST VALVE (OS)

SN: 16790-@

2шт.

|4

6150-18-1320

INSERT¤ 0.50MM,EXHAUST VALVE (OS)

SN: 16790-@

2шт.

|4

6150-17-1320

INSERT¤ 0.75MM,EXHAUST VALVE (OS)

SN: 16790-@

2шт.

|4

6150-16-1320

INSERT¤ 1.00MM,EXHAUST VALVE (OS)

SN: 16790-@

2шт.

5

6150-12-1341

GUIDE,INTAKE VALVE

SN: 16790-@

2шт.

6

6150-12-1351

GUIDE,EXHAUST VALVE

SN: 16790-@

2шт.

7

6150-11-1140

GUIDE

SN: 16790-@

2шт.

8

6162-13-1150

PLUG

SN: 16790-@

8шт.

9

04020-00820

PIN,DOWEL

SN: 16790-@

2шт.

10

6150-41-4111

VALVE,INTAKE

SN: 16790-@

2шт.

11

6150-41-4210

VALVE,EXHAUST

SN: 16790-@

2шт.

12

6150-41-4540

ROTATOR,INTAKE VALVE

SN: 16790-@

2шт.

13

6140-41-4540

SEAL,EXHAUST VALVE (K1)

SN: 16790-@

2шт.

14

6150-41-4430

SEAT,LOWER

SN: 16790-@

2шт.

15

6150-41-4510

SEAT,UPPER

SN: 16790-@

4шт.

16

6136-42-4520

COTTER

SN: 16790-@

8шт.

17

6150-41-4420

SPRING,INTAKE

SN: 16790-@

2шт.

18

6150-41-4411

SPRING,EXHAUST

SN: 16790-@

2шт.

|19

6150-41-5600

CROSSHEAD ASS'Y

SN: 16790-@

12шт.

19

6150-41-5610

CROSSHEAD

SN: 16790-@

1шт.

20

6150-41-5620

SCREW

SN: 16790-@

1шт.

21

6150-41-5630

NUT

SN: 16790-@

1шт.

22

6150-11-1812

GASKET

SN: 25410-27081

6шт.

|22

0

GASKET

SN: 25409-25409

6шт.

|22

0

GASKET (K1)

SN: 16790-25408

6шт.

23

6610-11-1821

GROMMET

SN: 25409-27081

4шт.

|23

6150-11-1820

GROMMET

SN: 16790-25408

4шт.

24

6150-11-1610

BOLT

SN: 16790-@

36шт.

25

6150-81-9160

BOLT

SN: 16790-@

6шт.

Выбрано товаров: 39