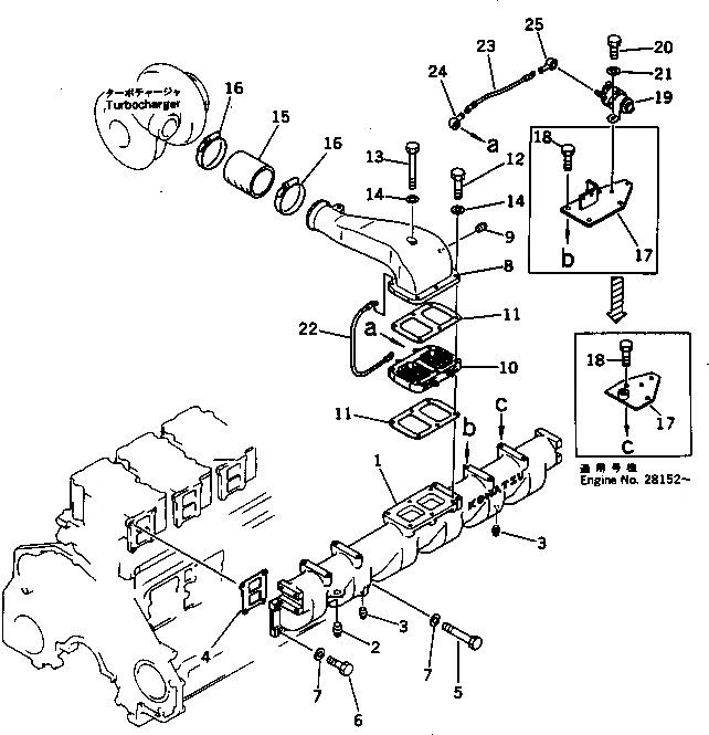
Запчасти Komatsu S6D125-1R ТРУБОПРОВОД ВПУСКА ВОЗДУХА И СОЕДИН-Е (С ГОРНЫМ ТОРМОЗОМ) ГОЛОВКА ЦИЛИНДРОВ

Схема запчастей Komatsu S6D125-1R - ТРУБОПРОВОД ВПУСКА ВОЗДУХА И СОЕДИН-Е (С ГОРНЫМ ТОРМОЗОМ) ГОЛОВКА ЦИЛИНДРОВ
FIT
1:1
100%

Артикул

Название

Примечание

Количество

|1

6151-11-4910

INTAKE MANIFOLD A.

SN: 16790-UP

1шт.

1

0

MANIFOLD,AIR INTAKE

SN: 16790-UP

1шт.

2

07042-00415

PLUG

SN: 16790-UP

1шт.

3

07042-00108

PLUG

SN: 16790-UP

2шт.

4

6150-11-4810

GASKET (K1)

SN: 16790-UP

6шт.

5

01011-51010

BOLT

SN: 16790-UP

8шт.

6

01010-51030

BOLT

SN: 16790-UP

16шт.

7

01640-21016

WASHER

SN: 16790-UP

24шт.

8

6151-11-4331

CONNECTOR,AIR

SN: 16790-UP

1шт.

9

07042-00108

PLUG

SN: 16790-UP

2шт.

10

600-815-3810

HEATER,RIBBON

SN: 16790-UP

1шт.

11

6150-11-4820

GASKET (K1)

SN: 16790-UP

2шт.

12

01010-51055

BOLT

SN: 16790-UP

5шт.

13

01011-51045

BOLT

SN: 16790-UP

1шт.

14

01640-21016

WASHER

SN: 16790-UP

6шт.

15

6151-11-4410

HOSE

SN: 16790-UP

1шт.

16

07281-01029

CLAMP

SN: 16790-UP

2шт.

17

6151-81-4560

BRACKET

SN: 28152-UP

1шт.

|17

0

BRACKET

SN: 16790-28151

1шт.

|$$20

(6151-11-5932{01010-51030(4))}

-1шт.

18

01010-51025

BOLT

SN: 28152-UP

2шт.

|18

01010-51025

BOLT

SN: 16790-28151

4шт.

19

600-815-2170

SWITCH,HEATER

SN: 16790-UP

1шт.

20

01010-50610

BOLT

SN: 16790-UP

2шт.

21

01640-20610

WASHER

SN: 16790-UP

2шт.

22

6678-81-4340

WIRE¤ 170MM

SN: 16790-UP

1шт.

23

6151-81-4410

WIRE¤ 265MM

SN: 16790-UP

1шт.

24

08038-00519

CAP

SN: 16790-UP

1шт.

25

6134-81-4910

CAP

SN: 16790-UP

1шт.

Выбрано товаров: 29