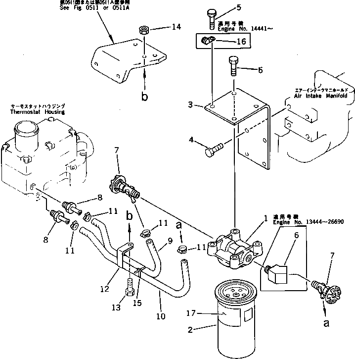
Запчасти Komatsu S6D125-1T АНТИКОРРОЗ. ЭЛЕМЕНТ И ТРУБЫ СИСТЕМА ОХЛАЖДЕНИЯ

Схема запчастей Komatsu S6D125-1T - АНТИКОРРОЗ. ЭЛЕМЕНТ И ТРУБЫ СИСТЕМА ОХЛАЖДЕНИЯ
FIT
1:1
100%

Артикул

Название

Примечание

Количество

1

6150-61-8211

HEAD

SN: 22596-UP

1шт.

|1

0

HEAD

SN: 13444-22595

1шт.

2

600-411-1150

CARTRIDGE

SN: 22596-UP

1шт.

|2

0

CARTRIDGE

SN: 13444-22595

1шт.

3

6150-61-8110

BRACKET

SN: 13444-UP

1шт.

4

01010-51025

BOLT

SN: 13444-UP

4шт.

5

02010-70625

BOLT

SN: 13444-UP

4шт.

6

6136-61-8730

ELBOW

SN: 13444-26690

1шт.

7

6150-61-8410

VALVE,WATER

SN: 20818-UP

2шт.

|7

0

VALVE,WATER

SN: 13444-20817

2шт.

8

6138-55-7610

NIPPLE

SN: 13444-UP

2шт.

9

07260-20936

HOSE

SN: 13444-UP

1шт.

10

07260-20963

HOSE

SN: 13444-UP

1шт.

11

07281-00197

CLAMP

SN: 13444-UP

4шт.

12

6150-61-8810

CLIP

SN: 13444-UP

1шт.

13

01010-51020

BOLT

SN: 13444-UP

1шт.

14

01580-11008

NUT

SN: 13444-UP

1шт.

15

08034-00414

BAND

SN: 13444-UP

1шт.

16

600-050-2160

CLAMP

SN: 14441-UP

1шт.

17

09647-02202

PLATE¤ INSTRUCTION,(ARABIC-ENGLISH)

SN: 22596-UP

1шт.

|17

09647-04202

PLATE¤ INSTRUCTION,(PERSIAN-ENGLISH)

SN: 22596-UP

1шт.

|17

09647-05202

PLATE¤ INSTRUCTION,(INDONESIAN-ENGLISH)

SN: 22596-UP

1шт.

|17

09647-10201

PLATE¤ INSTRUCTION,(ENGLISH)

SN: 22596-UP

1шт.

|17

09647-20202

PLATE¤ INSTRUCTION,(FRENCH-ENGLISH)

SN: 22596-UP

1шт.

|17

09647-30202

PLATE¤ INSTRUCTION,(ITALIAN-ENGLISH)

SN: 22596-UP

1шт.

|17

09647-50202

PLATE¤ INSTRUCTION,(GREEK-ENGLISH)

SN: 22596-UP

1шт.

|17

09647-60201

PLATE¤ INSTRUCTION,(CHINESE)

SN: 22596-UP

1шт.

|17

09647-70202

PLATE¤ INSTRUCTION,(SPANISH-ENGLISH)

SN: 22596-UP

1шт.

|17

09647-81202

PLATE¤ INSTRUCTION,(GERMAN-ENGLISH)

SN: 22596-UP

1шт.

Выбрано товаров: 0