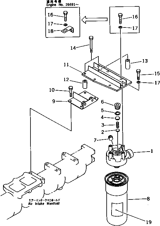
Запчасти Komatsu S6D125-1T МАСЛ. ФИЛЬТР И КРЕПЛЕНИЕ(№7-) СИСТЕМА СМАЗКИ МАСЛ. СИСТЕМА

Схема запчастей Komatsu S6D125-1T - МАСЛ. ФИЛЬТР И КРЕПЛЕНИЕ(№7-) СИСТЕМА СМАЗКИ МАСЛ. СИСТЕМА
FIT
1:1
100%

Артикул

Название

Примечание

Количество

|$0

6212-51-5300

OIL FILTER ASS'Y

SN: 26691-UP

1шт.

|$1

6151-51-5301

OIL FILTER ASS'Y

SN: 23751-26690

1шт.

|$2

6212-51-5400

OIL FILTER ASS'Y,(B)

SN: 26691-UP

1шт.

1

6212-51-5310

HEAD

SN: 26691-UP

1шт.

1

6151-51-5310

HEAD

SN: 23751-26690

1шт.

2

6150-51-4920

DISC

SN: 23751-UP

1шт.

3

6151-51-5320

SPRING

SN: 23751-UP

1шт.

4

6150-51-4360

RETAINER

SN: 23751-UP

1шт.

5

04065-03012

RING,SNAP

SN: 23751-UP

1шт.

6

02720-21616

PLUG

SN: 23751-UP

1шт.

7

07043-50617

PLUG

SN: 23751-UP

1шт.

8

600-211-1230

CARTRIDGE

SN: 23751-UP

1шт.

8

600-211-1290

CARTRIDGE,(B)

SN: 26691-UP

1шт.

9

6151-71-6240

BRACKET,FUEL FILTER

SN: 23751-UP

1шт.

10

01010-51025

BOLT

SN: 23751-UP

2шт.

11

6151-51-5222

BRACKET,OIL FILTER

SN: 26691-UP

1шт.

11

6151-51-5221

BRACKET,OIL FILTER

SN: 23751-26690

1шт.

12

6143-11-4290

SPACER

SN: 23751-UP

2шт.

13

6152-51-5520

SPACER

SN: 23751-UP

2шт.

14

01010-51080

BOLT

SN: 23751-UP

4шт.

15

01010-51030

BOLT

SN: 26691-UP

3шт.

15

01010-51025

BOLT

SN: 23751-26690

3шт.

16

01010-51035

BOLT

SN: 26691-UP

1шт.

16

01010-51025

BOLT

SN: 23751-26690

1шт.

17

01640-21016

WASHER

SN: 23751-UP

4шт.

18

6136-71-5730

BRACKET

SN: 26691-UP

1шт.

19

600-211-1310

PLATE, INSTRUCTION,(ENGLISH)

SN: 13444-UP

1шт.

19

600-211-1560

PLATE, INSTRUCTION,(PERSIAN-ENGLISH)

SN: 13444-UP

1шт.

19

600-211-1660

PLATE, INSTRUCTION,(ITALIAN-ENGLISH)

SN: 13444-UP

1шт.

19

600-211-1670

PLATE, INSTRUCTION,(INDONESIAN-ENGLISH)

SN: 13444-UP

1шт.

19

600-211-1680

PLATE, INSTRUCTION,(GREEK-ENGLISH)

SN: 13444-UP

1шт.

19

600-211-1690

PLATE, INSTRUCTION,(CHINESE)

SN: 13444-UP

1шт.

19

600-211-1720

PLATE, INSTRUCTION,(SPANISH-ENGLISH)

SN: 13444-UP

1шт.

19

600-211-1741

PLATE, INSTRUCTION,(FRENCH-ENGLISH)

SN: 13444-UP

1шт.

19

600-211-1750

PLATE, INSTRUCTION,(ARABIC-ENGLISH)

SN: 13444-UP

1шт.

19

600-211-1771

PLATE, INSTRUCTION,(RUSSIAN)

SN: 26691-UP

1шт.

19

600-211-5880

PLATE, CAUTION,(GERMAN-ENGLISH)

SN: 13444-UP

1шт.

Выбрано товаров: 37