Запчасти Komatsu S6D125-1VV-C ТОПЛИВН. ФОРСУНКА И СЛИВН. ТРУБКА ТОПЛИВН. СИСТЕМА

Схема запчастей Komatsu S6D125-1VV-C - ТОПЛИВН. ФОРСУНКА И СЛИВН. ТРУБКА ТОПЛИВН. СИСТЕМА
FIT
1:1
100%

Артикул

Название

Примечание

Количество

|1

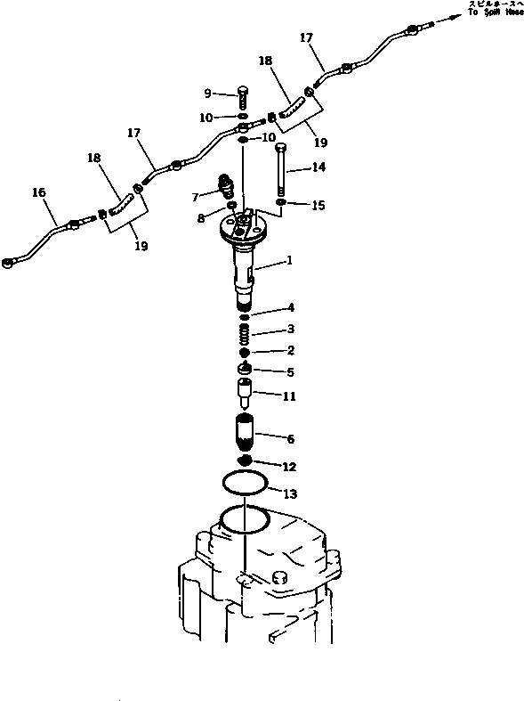
6151-11-3500

NOZZLE HOLDER ASS'Y

SN: 48088-UP

6шт.

|1

6151-13-3200

NOZZLE HOLDER ASS'Y

SN: 35323-48087

6шт.

|1

6151-13-3200

NOZZLE HOLDER ASS'Y,(B)

SN: 47234-UP

6шт.

|$$4

THE DENSO PART NUMBER IS THAT ND IS REMOVED FROM KOMATSU PART NUMBER LISTED BELOW.

-1шт.

|1

ND093100-5180

HOLDER ASS'Y

SN: 48088-UP

1шт.

|1

ND093100-4290

HOLDER ASS'Y

SN: 35323-48087

1шт.

|1

ND093100-4290

HOLDER ASS'Y,(B)

SN: 47234-UP

1шт.

1

ND093110-5180

BODY

SN: 48088-UP

1шт.

|1

ND093110-4290

BODY

SN: 35323-48087

1шт.

|1

ND093110-4290

BODY,(B)

SN: 47234-UP

1шт.

2

ND093121-0320

PIN,PRESSURE

SN: 35323-UP

1шт.

3

ND093127-0270

SPRING,PRESSURE

SN: 35323-UP

1шт.

4

ND093175-1020

SHIM¤ 0.7MM

SN: 35323-UP

-2шт.

|4

ND093175-1500

SHIM¤ 0.725MM

SN: 35323-UP

-2шт.

|4

ND093175-1030

SHIM¤ 0.75MM

SN: 35323-UP

-2шт.

|4

ND093175-1510

SHIM¤ 0.775MM

SN: 35323-UP

-2шт.

|4

ND093175-1040

SHIM¤ 0.8MM

SN: 35323-UP

-2шт.

|4

ND093175-1520

SHIM¤ 0.825MM

SN: 35323-UP

-2шт.

|4

ND093175-1050

SHIM¤ 0.85MM

SN: 35323-UP

-2шт.

|4

ND093175-1530

SHIM¤ 0.875MM

SN: 35323-UP

-2шт.

|4

ND093175-1060

SHIM¤ 0.9MM

SN: 35323-UP

-2шт.

|4

ND093175-1540

SHIM¤ 0.925MM

SN: 35323-UP

-2шт.

|4

ND093175-1070

SHIM¤ 0.95MM

SN: 35323-UP

-2шт.

|4

ND093175-1550

SHIM¤ 0.975MM

SN: 35323-UP

-2шт.

|4

ND093175-1080

SHIM¤ 1.0MM

SN: 35323-UP

-2шт.

|4

ND093175-1560

SHIM¤ 1.025MM

SN: 35323-UP

-2шт.

|4

ND093175-1090

SHIM¤ 1.05MM

SN: 35323-UP

-2шт.

|4

ND093175-1570

SHIM¤ 1.075MM

SN: 35323-UP

-2шт.

|4

ND093175-1100

SHIM¤ 1.1MM

SN: 35323-UP

-2шт.

|4

ND093175-1580

SHIM¤ 1.125MM

SN: 35323-UP

-2шт.

|4

ND093175-1110

SHIM¤ 1.15MM

SN: 35323-UP

-2шт.

|4

ND093175-1590

SHIM¤ 1.175MM

SN: 35323-UP

-2шт.

|4

ND093175-1120

SHIM¤ 1.2MM

SN: 35323-UP

-2шт.

|4

ND093175-1600

SHIM¤ 1.225MM

SN: 35323-UP

-2шт.

|4

ND093175-1130

SHIM¤ 1.25MM

SN: 35323-UP

-2шт.

|4

ND093175-1610

SHIM¤ 1.275MM

SN: 35323-UP

-2шт.

|4

ND093175-1140

SHIM¤ 1.3MM

SN: 35323-UP

-2шт.

|4

ND093175-1620

SHIM¤ 1.325MM

SN: 35323-UP

-2шт.

|4

ND093175-1150

SHIM¤ 1.35MM

SN: 35323-UP

-2шт.

|4

ND093175-1630

SHIM¤ 1.375MM

SN: 35323-UP

-2шт.

|4

ND093175-1160

SHIM¤ 1.4MM

SN: 35323-UP

-2шт.

|4

ND093175-1640

SHIM¤ 1.425MM

SN: 35323-UP

-2шт.

|4

ND093175-1170

SHIM¤ 1.45MM

SN: 35323-UP

-2шт.

|4

ND093175-1650

SHIM¤ 1.475MM

SN: 35323-UP

-2шт.

|4

ND093175-1180

SHIM¤ 1.5MM

SN: 35323-UP

-2шт.

|4

ND093175-3880

SHIM¤ 1.525MM

SN: 35323-UP

-2шт.

|4

ND093175-3890

SHIM¤ 1.55MM

SN: 35323-UP

-2шт.

|4

ND093175-3900

SHIM¤ 1.575MM

SN: 35323-UP

-2шт.

|4

ND093175-3910

SHIM¤ 1.6MM

SN: 35323-UP

-2шт.

|4

ND093175-3920

SHIM¤ 1.625MM

SN: 35323-UP

-2шт.

|4

ND093175-3930

SHIM¤ 1.65MM

SN: 35323-UP

-2шт.

|4

ND093175-3940

SHIM¤ 1.675MM

SN: 35323-UP

-2шт.

|4

ND093175-3950

SHIM¤ 1.7MM

SN: 35323-UP

-2шт.

5

ND093220-0050

PACKING

SN: 35323-UP

1шт.

6

ND093164-1120

NUT,RETAINING

SN: 48088-UP

1шт.

|6

ND093164-1160

NUT,RETAINING

SN: 35323-48087

1шт.

|6

ND093164-1160

NUT,RETAINING(B)

SN: 47234-UP

1шт.

7

ND093151-0390

CONNECTOR,INLET

SN: 35323-UP

1шт.

8

ND093158-0010

GASKET

SN: 35323-UP

1шт.

9

ND093166-0010

SCREW

SN: 35323-UP

1шт.

10

ND090222-0080

WASHER,(KOMATSU PART NO. 07005-00812) (K1)

SN: 35323-UP

2шт.

11

6151-11-3220

NOZZLE

SN: 35323-UP

1шт.

12

6210-71-1160

GASKET (K1)

SN: 35323-48087

6шт.

13

07000-65065

O-RING (K1)

SN: 35323-UP

6шт.

14

01011-51045

BOLT

SN: 35323-UP

12шт.

15

07005-01012

GASKET (K1)

SN: 35323-UP

12шт.

16

6150-71-5360

TUBE,SPILL

SN: 35323-UP

1шт.

17

6150-71-5370

TUBE,SPILL

SN: 35323-UP

2шт.

18

07270-20409

TUBE,SPILL

SN: 35323-UP

2шт.

|18

07270-30409

TUBE,SPILL¤ (B)

SN: 47234-UP

2шт.

19

07285-00085

CLIP

SN: 35323-UP

4шт.

Выбрано товаров: 71