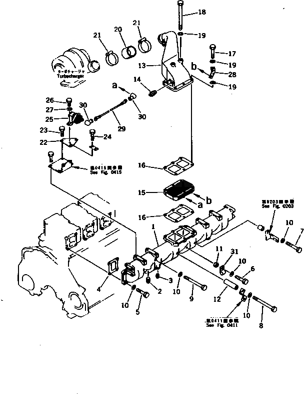
Запчасти Komatsu S6D125-1VV-T ТРУБОПРОВОД ВПУСКА ВОЗДУХА И СОЕДИН-Е (С ВОДООТДЕЛИТЕЛЕМ) ГОЛОВКА ЦИЛИНДРОВ

Схема запчастей Komatsu S6D125-1VV-T - ТРУБОПРОВОД ВПУСКА ВОЗДУХА И СОЕДИН-Е (С ВОДООТДЕЛИТЕЛЕМ) ГОЛОВКА ЦИЛИНДРОВ
FIT
1:1
100%

Артикул

Название

Примечание

Количество

|1

6151-11-4910

INTAKE MANIFOLD A.

SN: 35323-UP

1шт.

1

0

MANIFOLD

SN: 35323-UP

1шт.

2

07042-00415

PLUG

SN: 35323-UP

1шт.

3

07042-00108

PLUG

SN: 35323-UP

2шт.

4

6150-13-4810

GASKET (K1)

SN: 35323-UP

6шт.

5

01010-51030

BOLT

SN: 35323-UP

11шт.

6

01010-51045

BOLT

SN: 35323-UP

3шт.

7

01010-51060

BOLT

SN: 35323-UP

1шт.

8

01011-51045

BOLT

SN: 35323-UP

1шт.

9

01011-51010

BOLT

SN: 35323-UP

8шт.

10

01640-21016

WASHER

SN: 35323-UP

24шт.

11

6631-11-6390

SPACER

SN: 35323-UP

3шт.

12

6206-81-9870

SPACER

SN: 35323-UP

1шт.

13

6151-11-4362

CONNECTOR

SN: 48088-UP

1шт.

|13

6151-13-4361

CONNECTOR

SN: 42272-48087

1шт.

|13

0

CONNECTOR

SN: 35323-42271

1шт.

14

07042-00108

PLUG

SN: 35323-UP

1шт.

15

600-815-3810

HEATER,RIBBON

SN: 35323-UP

1шт.

16

6150-11-4820

GASKET (K1)

SN: 35323-UP

2шт.

17

01010-51055

BOLT

SN: 35323-UP

4шт.

18

01011-51075

BOLT

SN: 35323-UP

2шт.

19

01640-21016

WASHER

SN: 35323-UP

7шт.

20

6151-11-4410

HOSE

SN: 48088-UP

1шт.

|20

6151-13-4410

HOSE

SN: 35323-48087

1шт.

21

07281-00909

CLAMP

SN: 48088-UP

2шт.

|21

07281-00809

CLAMP

SN: 35323-48087

2шт.

22

6151-81-4510

BRACKET

SN: 35323-UP

1шт.

23

01010-51030

BOLT

SN: 35323-UP

1шт.

24

01010-51035

BOLT,(SEE FIG.0415)

SN: 35323-UP

1шт.

25

600-815-2170

SWITCH,HEATER

SN: 35323-UP

1шт.

26

01010-50610

BOLT

SN: 35323-UP

2шт.

27

01640-20610

WASHER

SN: 35323-UP

2шт.

28

6151-81-4590

PLATE

SN: 35323-UP

1шт.

29

6151-81-4490

WIRE¤ 160MM

SN: 35323-UP

1шт.

30

08038-00519

CAP

SN: 35323-UP

2шт.

31

600-050-2420

CLIP,(SEE FIG.ENGINE WIRING)

SN: 35323-UP

1шт.

Выбрано товаров: 36