Запчасти Komatsu S6D125E-2J-6 ЗАЩИТА (ДЛЯ ВЫПУСКНОЙ КОЛЛЕКТОР И ТУРБОНАГНЕТАТЕЛЬ)(№88-) ДВИГАТЕЛЬ

Схема запчастей Komatsu S6D125E-2J-6 - ЗАЩИТА (ДЛЯ ВЫПУСКНОЙ КОЛЛЕКТОР И ТУРБОНАГНЕТАТЕЛЬ)(№88-) ДВИГАТЕЛЬ
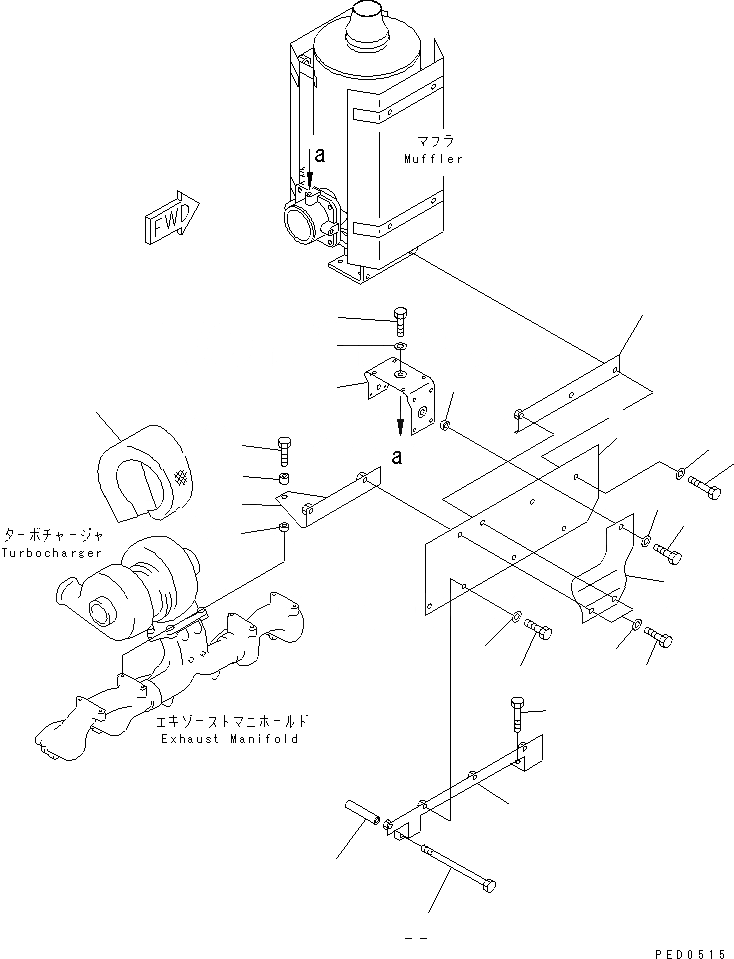
1
2
3
4
5
6
7
8
9
10
11
12
13
14
15
16
17
18
19
20
21
22
23
24
FIT
1:1
100%

Артикул

Название

Примечание

Количество

1

6151-12-8630

BRACKET

SN: 64848-UP

1шт.

2

01010-81050

BOLT

SN: 64848-UP

2шт.

3

01643-31032

WASHER

SN: 64848-UP

2шт.

4

6151-12-8760

BRACKET

SN: 64848-UP

1шт.

5

01010-81050

BOLT

SN: 64848-UP

2шт.

6

6631-11-5630

SPACER

SN: 64848-UP

2шт.

7

205-96-51310

SPACER

SN: 64848-UP

2шт.

8

6151-12-8620

COVER

SN: 64848-UP

1шт.

9

01010-E1020

BOLT

SN: 64848-UP

2шт.

10

01643-31032

WASHER

SN: 64848-UP

2шт.

11

6151-12-8770

COVER

SN: 64848-UP

1шт.

12

01010-E1030

BOLT

SN: 64848-UP

1шт.

13

6151-61-3781

SPACER

SN: 64848-UP

1шт.

14

01643-31032

WASHER

SN: 64848-UP

1шт.

15

01010-81025

BOLT

SN: 64848-UP

2шт.

16

01643-31032

WASHER

SN: 64848-UP

2шт.

17

6152-12-5410

COVER

SN: 64848-UP

1шт.

18

6151-12-8810

COVER

SN: 64848-UP

1шт.

19

6151-12-8830

BRACKET

SN: 64848-UP

1шт.

20

6207-11-5970

SPACER

SN: 64848-UP

1шт.

21

01010-81050

BOLT

SN: 64848-UP

1шт.

22

01011-81035

BOLT

SN: 64848-UP

1шт.

23

01010-81020

BOLT

SN: 64848-UP

4шт.

24

01643-31032

WASHER

SN: 64848-UP

4шт.

Выбрано товаров: 24