Запчасти Komatsu S6D125E-2L МАСЛЯНЫЙ ПОДДОН И ВСАСЫВАЮЩИЙ ПАТРУБОК(№-) ДВИГАТЕЛЬ

Схема запчастей Komatsu S6D125E-2L - МАСЛЯНЫЙ ПОДДОН И ВСАСЫВАЮЩИЙ ПАТРУБОК(№-) ДВИГАТЕЛЬ
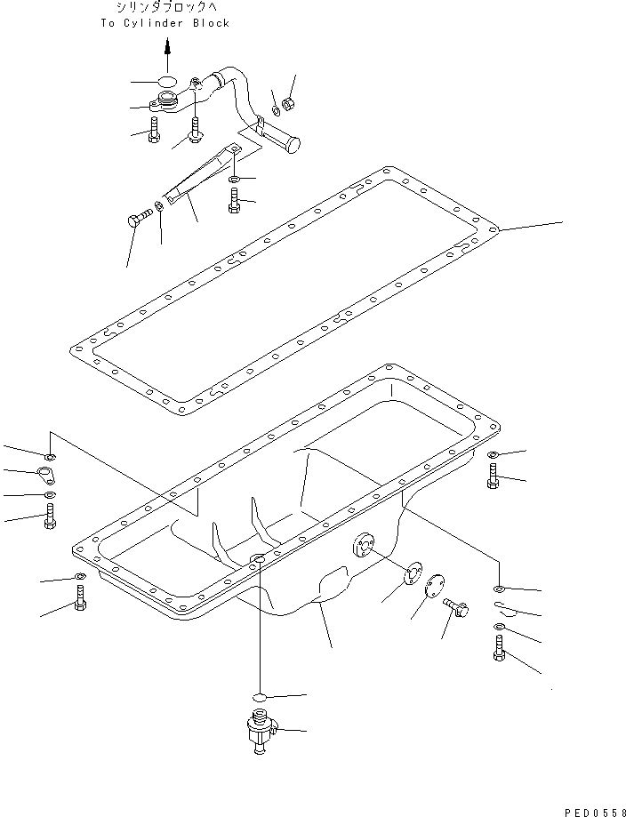
1
2
3
4
4
4
5
5
5
5
6
7
7
8
9
10
11
12
13
14
15
16
17
18
19
20
21
22
23
23
FIT
1:1
100%

Артикул

Название

Примечание

Количество

1

6150-23-5181

PAN,OIL

SN: 65504-UP

1шт.

2

6150-21-5812

GASKET (K2)

SN: 65504-UP

1шт.

3

01010-81025

BOLT

SN: 65504-UP

28шт.

4

01010-81030

BOLT

SN: 65504-UP

8шт.

5

01640-21016

WASHER

SN: 65504-UP

36шт.

6

6130-22-5290

CLIP,BREATHER HOSE

SN: 65504-UP

1шт.

7

01643-31032

WASHER

SN: 65504-UP

2шт.

8

6101-61-6620

CLAMP

SN: 65504-UP

1шт.

9

6150-23-5190

COCK,DRAIN

SN: 65504-UP

1шт.

10

07002-22434

O-RING (K2)

SN: 65504-UP

1шт.

11

6136-21-5770

PLATE

SN: 65504-UP

1шт.

12

6136-21-5870

GASKET (K2)

SN: 65504-UP

1шт.

13

01435-00612

BOLT

SN: 83661-UP

3шт.

|13

0

BOLT

SN: 65504-83660

3шт.

14

6150-51-6350

STRAINER,OIL

SN: 65504-UP

1шт.

15

07000-73045

O-RING

SN: 82257-UP

1шт.

|15

0

O-RING (K2)

SN: 65504-82256

1шт.

16

01010-81035

BOLT

SN: 65504-UP

1шт.

17

6150-81-9370

BOLT

SN: 65504-UP

1шт.

18

6150-51-6241

BRACKET

SN: 65504-UP

1шт.

19

01010-81020

BOLT

SN: 65504-UP

1шт.

20

01643-31032

WASHER

SN: 65504-UP

1шт.

21

01010-81025

BOLT

SN: 65504-UP

1шт.

22

01580-01008

NUT

SN: 65504-UP

1шт.

23

01640-21016

WASHER

SN: 76218-UP

2шт.

|23

01643-31032

WASHER

SN: 65504-76217

2шт.

Выбрано товаров: 26