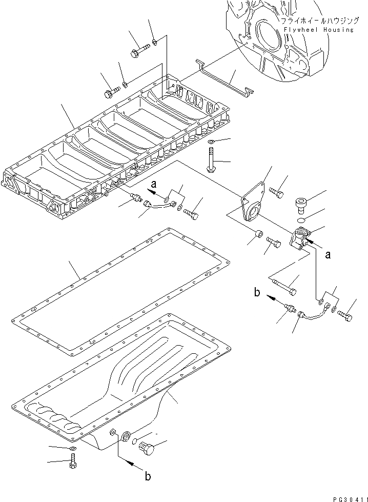
Запчасти Komatsu S6D140-1A МАСЛЯНЫЙ ПОДДОН(№-97) БЛОК ЦИЛИНДРОВ

Схема запчастей Komatsu S6D140-1A - МАСЛЯНЫЙ ПОДДОН(№-97) БЛОК ЦИЛИНДРОВ
1
2
3
4
5
6
6
6
7
8
9
10
11
11A
12
13
14
15
16
17
18
19
20
21
22
22
23
23
24
24
1
2
3
4
5
6
6
6
7
8
9
10
11
11A
12
13
14
15
16
17
18
19
20
21
22
22
23
23
24
24
FIT
1:1
100%

Артикул

Название

Примечание

Количество

1

6210-21-5210

FRAME

SN: 10001-11976

1шт.

2

6210-21-5280

GASKET (K2)

SN: 10001-11976

1шт.

3

6210-81-9410

BOLT

SN: 10001-11976

32шт.

4

6210-81-9440

BOLT

SN: 10139-11976

2шт.

|4

0

BOLT

SN: 10001-10138

2шт.

5

6210-81-9450

BOLT

SN: 10139-11976

4шт.

|5

0

BOLT

SN: 10001-10138

4шт.

6

01640-21016

WASHER

SN: 10001-11976

38шт.

7

6210-21-5120

PAN,OIL

SN: 10001-11976

1шт.

8

07044-13620

PLUG,DRAIN

SN: 10465-11976

1шт.

|8

0

PLUG,DRAIN

SN: 10001-10464

1шт.

9

07002-23634

O-RING (K2)

SN: 10001-11976

1шт.

10

6210-21-5812

GASKET (K2)

SN: 10622-11976

1шт.

|10

0

GASKET (K2)

SN: 10001-10621

1шт.

11

01010-51030

BOLT

SN: 11033-11976

35шт.

|11

01010-51030

BOLT

SN: 10001-11032

36шт.

11A

01640-21016

WASHER

SN: 11033-11976

35шт.

|11A

01640-21016

WASHER

SN: 10001-11032

36шт.

12

6210-81-4321

BRACKET

SN: 10740-11976

1шт.

|12

0

BRACKET

SN: 10001-10739

1шт.

|$$21

(6210-81-4321{01010-51030¤}

-1шт.

|$$22

01010-51040)

-1шт.

13

01010-51030

BOLT

SN: 10740-11976

2шт.

|13

01010-51020

BOLT

SN: 10001-10739

2шт.

14

01010-51040

BOLT

SN: 10740-11976

1шт.

|14

01010-51035

BOLT

SN: 10001-10739

1шт.

15

6631-11-6390

SPACER

SN: 10001-11976

1шт.

16

6210-81-4210

CASE

SN: 10001-11976

1шт.

17

07040-13618

PLUG

SN: 10001-11976

1шт.

18

07002-23634

O-RING (K2)

SN: 10001-@

1шт.

19

01010-51075

BOLT

SN: 10001-11976

2шт.

20

6210-81-4230

TUBE

SN: 10001-11976

1шт.

21

6210-81-4240

TUBE

SN: 10001-11976

1шт.

22

07214-50813

CONNECTOR

SN: 10001-11976

2шт.

23

07206-30812

BOLT,JOINT

SN: 10001-11976

2шт.

24

07005-01212

GASKET (K2)

SN: 10001-11976

4шт.

1

6210-21-5210

FRAME

SN: 10001-11976

1шт.

2

6210-21-5280

GASKET (K2)

SN: 10001-11976

1шт.

3

6210-81-9410

BOLT

SN: 10001-11976

32шт.

4

6210-81-9440

BOLT

SN: 10139-11976

2шт.

|4

0

BOLT

SN: 10001-10138

2шт.

5

6210-81-9450

BOLT

SN: 10139-11976

4шт.

|5

0

BOLT

SN: 10001-10138

4шт.

6

01640-21016

WASHER

SN: 10001-11976

38шт.

7

6210-21-5120

PAN,OIL

SN: 10001-11976

1шт.

8

07044-13620

PLUG,DRAIN

SN: 10465-11976

1шт.

|8

0

PLUG,DRAIN

SN: 10001-10464

1шт.

9

07002-23634

O-RING (K2)

SN: 10001-11976

1шт.

10

6210-21-5812

GASKET (K2)

SN: 10622-11976

1шт.

|10

0

GASKET (K2)

SN: 10001-10621

1шт.

11

01010-51030

BOLT

SN: 11033-11976

35шт.

|11

01010-51030

BOLT

SN: 10001-11032

36шт.

11A

01640-21016

WASHER

SN: 11033-11976

35шт.

|11A

01640-21016

WASHER

SN: 10001-11032

36шт.

12

6210-81-4321

BRACKET

SN: 10740-11976

1шт.

|12

0

BRACKET

SN: 10001-10739

1шт.

|$$21

(6210-81-4321{01010-51030¤}

-1шт.

|$$22

01010-51040)

-1шт.

13

01010-51030

BOLT

SN: 10740-11976

2шт.

|13

01010-51020

BOLT

SN: 10001-10739

2шт.

14

01010-51040

BOLT

SN: 10740-11976

1шт.

|14

01010-51035

BOLT

SN: 10001-10739

1шт.

15

6631-11-6390

SPACER

SN: 10001-11976

1шт.

16

6210-81-4210

CASE

SN: 10001-11976

1шт.

17

07040-13618

PLUG

SN: 10001-11976

1шт.

18

07002-23634

O-RING (K2)

SN: 10001-@

1шт.

19

01010-51075

BOLT

SN: 10001-11976

2шт.

20

6210-81-4230

TUBE

SN: 10001-11976

1шт.

21

6210-81-4240

TUBE

SN: 10001-11976

1шт.

22

07214-50813

CONNECTOR

SN: 10001-11976

2шт.

23

07206-30812

BOLT,JOINT

SN: 10001-11976

2шт.

24

07005-01212

GASKET (K2)

SN: 10001-11976

4шт.

Выбрано товаров: 72