Запчасти Komatsu S6D140-1L БЛОК ЦИЛИНДРОВ COVER БЛОК ЦИЛИНДРОВ

Схема запчастей Komatsu S6D140-1L - БЛОК ЦИЛИНДРОВ COVER БЛОК ЦИЛИНДРОВ
FIT
1:1
100%

Артикул

Название

Примечание

Количество

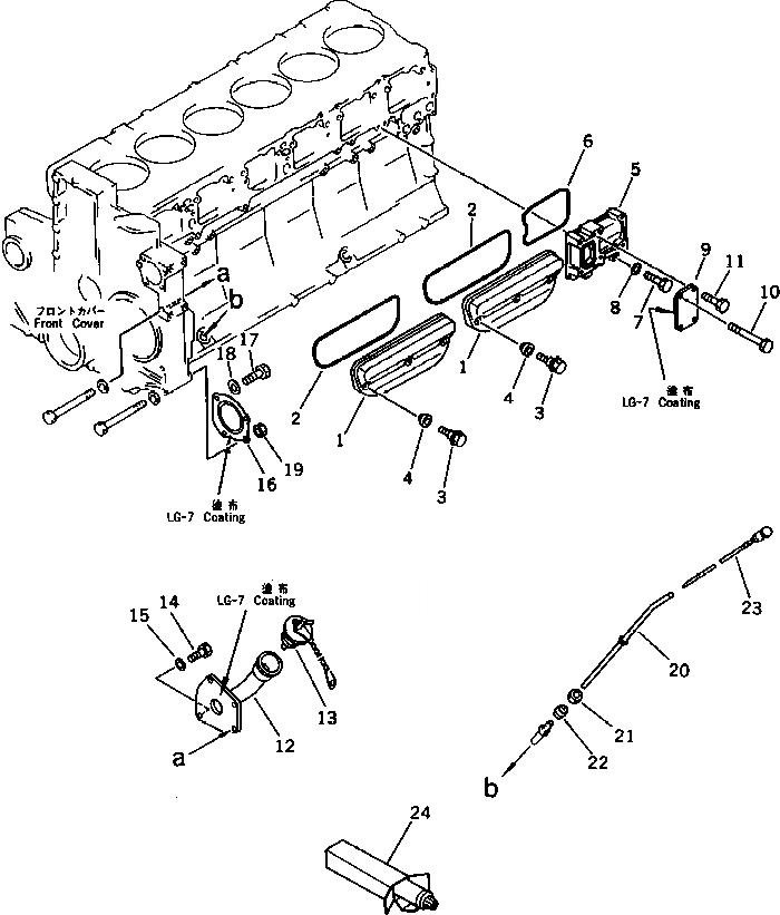
1

6210-21-6410

COVER

SN: 13126-UP

2шт.

2

6150-21-6460

O-RING (K2)

SN: 13126-UP

2шт.

3

6210-21-6471

BOLT

SN: 13126-UP

6шт.

4

6150-21-6390

PACKING (K2)

SN: 13126-UP

6шт.

5

6210-21-6440

COVER

SN: 13126-UP

1шт.

6

6210-21-6452

O-RING (K2)

SN: 13774-UP

1шт.

|6

0

O-RING (K2)

SN: 13126-13773

1шт.

7

01010-51030

BOLT

SN: 13126-UP

2шт.

8

01640-21016

WASHER

SN: 13126-UP

2шт.

9

6210-21-6550

COVER

SN: 13126-UP

1шт.

10

01010-51070

BOLT

SN: 13126-UP

1шт.

11

01010-51030

BOLT

SN: 13126-UP

3шт.

12

6211-21-7220

FILLER,OIL

SN: 13126-UP

1шт.

13

07025-00100

CAP

SN: 13126-UP

1шт.

14

01010-51225

BOLT

SN: 13126-UP

1шт.

15

01640-21223

WASHER

SN: 13126-UP

1шт.

16

6210-21-1860

COVER

SN: 13126-UP

1шт.

17

01010-51225

BOLT

SN: 13126-UP

1шт.

18

01640-21223

WASHER

SN: 13126-UP

1шт.

19

01580-11210

NUT

SN: 13126-UP

3шт.

20

6210-21-5410

GUIDE,GAUGE

SN: 13126-UP

1шт.

21

6150-21-5930

NUT

SN: 13126-UP

1шт.

22

6150-21-5920

COLLAR

SN: 13126-UP

1шт.

23

6210-21-5310

GAUGE,OIL

SN: 13126-UP

1шт.

24

09920-00150

LIQUID GASKET,LG-7 150G

SN: 13126-UP

-2шт.

Выбрано товаров: 0