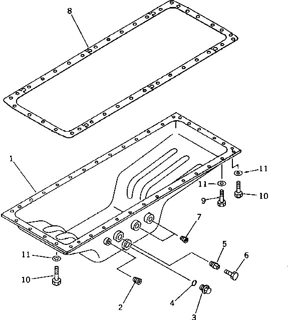
Запчасти Komatsu S6D140-1L МАСЛЯНЫЙ ПОДДОН(№7-) БЛОК ЦИЛИНДРОВ

Схема запчастей Komatsu S6D140-1L - МАСЛЯНЫЙ ПОДДОН(№7-) БЛОК ЦИЛИНДРОВ
FIT
1:1
100%

Артикул

Название

Примечание

Количество

1

6211-21-5180

PAN,OIL

SN: 13127-UP

1шт.

2

07043-00211

PLUG

SN: 13126-UP

1шт.

3

07044-13620

PLUG

SN: 13126-UP

1шт.

4

07002-23634

O-RING (K2)

SN: 13126-UP

1шт.

5

6127-21-5880

ADAPTER

SN: 13126-UP

1шт.

6

287-35-11470

PLUG

SN: 13126-UP

1шт.

7

02720-11616

PLUG

SN: 13126-UP

2шт.

8

6210-21-5820

GASKET (K2)

SN: 13127-UP

1шт.

9

01010-51030

BOLT

SN: 13127-UP

26шт.

10

01010-51025

BOLT

SN: 13127-UP

12шт.

11

01640-21016

WASHER

SN: 13127-UP

38шт.

Выбрано товаров: 11