Запчасти Komatsu S6D140-1M - -

Схема запчастей Komatsu S6D140-1M - - -
FIT
1:1
100%

Артикул

Название

Примечание

Количество

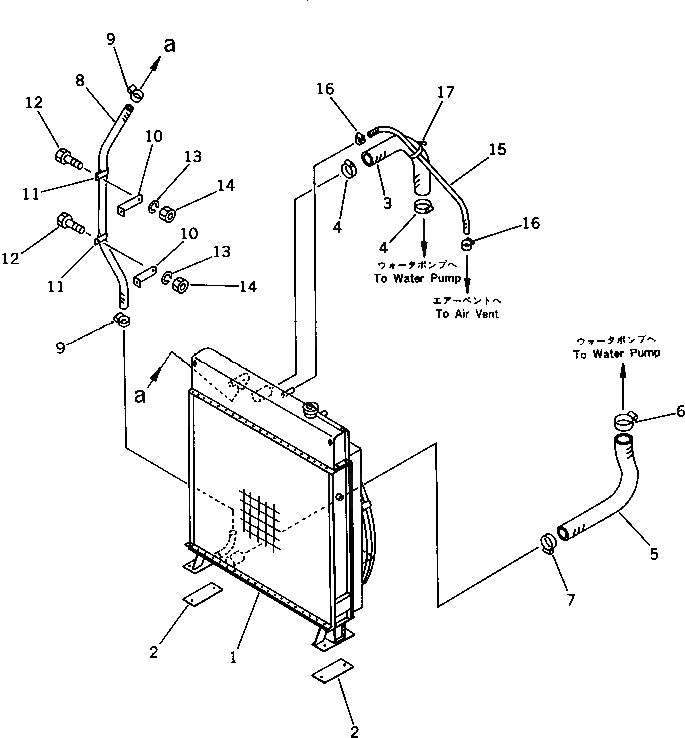
1

6212-61-9901

RADIATOR ASS'Y

SN: 13869-UP

1шт.

2

6995-61-9230

CUSHION

SN: 13869-UP

2шт.

3

6212-61-9610

HOSE

SN: 13869-UP

1шт.

4

07281-00909

CLAMP

SN: 13869-UP

2шт.

5

6212-61-9630

HOSE

SN: 13869-UP

1шт.

6

07281-01029

CLAMP

SN: 13869-UP

1шт.

7

07281-00909

CLAMP

SN: 13869-UP

1шт.

8

07261-02612

HOSE

SN: 13869-UP

1шт.

9

07281-00489

CLAMP

SN: 13869-UP

2шт.

10

6112-53-7170

PLATE

SN: 13869-UP

2шт.

11

566-03-12620

CLIP

SN: 13869-UP

2шт.

12

01010-31020

BOLT

SN: 13869-UP

2шт.

13

01602-01030

WASHER

SN: 13869-UP

2шт.

14

01580-01008

NUT

SN: 13869-UP

2шт.

15

6138-61-9260

HOSE

SN: 13869-UP

1шт.

16

07281-00167

CLAMP

SN: 13869-UP

2шт.

17

08034-00834

BAND

SN: 13869-UP

1шт.

Выбрано товаров: 17