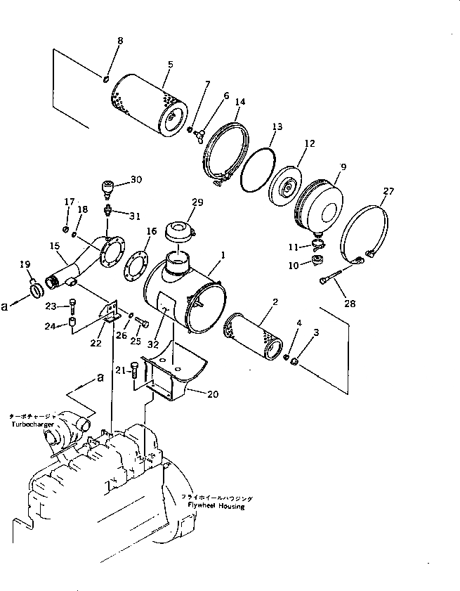
Запчасти Komatsu S6D140-1M ВОЗДУХООЧИСТИТЕЛЬ (КРОМЕ ЯПОН.) ГОЛОВКА ЦИЛИНДРОВ

Схема запчастей Komatsu S6D140-1M - ВОЗДУХООЧИСТИТЕЛЬ (КРОМЕ ЯПОН.) ГОЛОВКА ЦИЛИНДРОВ
FIT
1:1
100%

Артикул

Название

Примечание

Количество

|$0

6128-81-7401

AIR CLEANER ASS'Y

SN: 13869-UP

1шт.

1

6128-81-7410

BODY

SN: 13869-UP

1шт.

|$2

6128-81-7051

ELEMENT ASS'Y

SN: 13869-UP

1шт.

2

0

ELEMENT,INNER

SN: 13869-UP

1шт.

3

600-181-9671

NUT

SN: 13869-UP

1шт.

4

600-181-7511

WASHER,SEAL

SN: 13869-UP

1шт.

|$6

600-181-4200

ELEMENT ASS'Y,OUTER

SN: 13869-UP

1шт.

5

0

ELEMENT,OUTER

SN: 13869-UP

1шт.

6

600-181-1990

NUT,WING

SN: 13869-UP

1шт.

7

600-181-4591

WASHER,SEAL

SN: 13869-UP

1шт.

8

04064-01510

RING,SNAP

SN: 13869-UP

1шт.

9

6127-82-7520

COVER

SN: 13869-UP

1шт.

10

6112-81-7810

VALVE

SN: 13869-UP

1шт.

11

6112-81-7820

CLAMP

SN: 13869-UP

1шт.

12

6127-82-7530

BAFFLE

SN: 13869-UP

1шт.

13

6127-82-7550

O-RING

SN: 13869-UP

1шт.

14

6127-82-7540

CLAMP

SN: 13869-UP

1шт.

15

6212-11-4510

CONNECTOR,AIR

SN: 13869-UP

1шт.

16

6127-81-4821

GASKET (K1)

SN: 13869-UP

1шт.

17

01580-11008

NUT

SN: 13869-UP

8шт.

18

01640-21016

WASHER

SN: 13869-UP

8шт.

19

02895-67081

O-RING (K1)

SN: 13869-UP

2шт.

20

6212-11-4520

BRACKET

SN: 13869-UP

1шт.

21

01010-31225

BOLT

SN: 13869-UP

4шт.

22

6211-11-4710

BRACKET

SN: 13869-UP

1шт.

23

01010-31040

BOLT

SN: 13869-UP

2шт.

24

6631-11-5630

SPACER

SN: 13869-UP

2шт.

25

01010-31030

BOLT

SN: 13869-UP

2шт.

26

01642-01016

WASHER

SN: 13869-UP

2шт.

27

6128-11-4380

BAND ASS'Y

SN: 13869-UP

1шт.

27

6691-21-6550

PIN

SN: 13869-UP

1шт.

27

6691-21-6560

PIN, WITH THREAD

SN: 13869-UP

1шт.

28

6643-11-4641

BOLT

SN: 13869-UP

1шт.

29

6128-81-7420

SCREEN

SN: 13869-UP

1шт.

30

08670-01001

INDICATOR,DUST

SN: 13869-UP

1шт.

31

600-181-0320

ADAPTER

SN: 13869-UP

1шт.

32

09637-00161

PLATE, INSTRUCTION,(ENGLISH-JAPANESE)

SN: 13869-UP

1шт.

32

09637-30161

PLATE, INSTRUCTION,(ENGLISH)

SN: 13869-UP

1шт.

Выбрано товаров: 38