Запчасти Komatsu S6D140-1Q ТРУБОПРОВОД ВПУСКА ВОЗДУХА И СОЕДИН-Е(№99-) ГОЛОВКА ЦИЛИНДРОВ

Схема запчастей Komatsu S6D140-1Q - ТРУБОПРОВОД ВПУСКА ВОЗДУХА И СОЕДИН-Е(№99-) ГОЛОВКА ЦИЛИНДРОВ
FIT
1:1
100%

Артикул

Название

Примечание

Количество

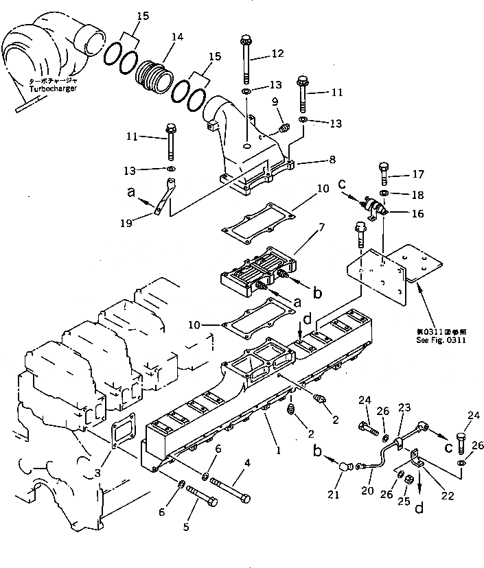
1

6211-11-4110

MANIFOLD,INTAKE

SN: 13955-UP

1шт.

2

07042-00108

PLUG

SN: 13955-UP

2шт.

3

6210-11-4810

GASKET (K1)

SN: 13955-UP

6шт.

4

01011-51035

BOLT

SN: 13955-UP

12шт.

5

01010-51075

BOLT

SN: 13955-UP

12шт.

6

01640-21016

WASHER

SN: 13955-UP

24шт.

7

600-815-4280

HEATER,RIBBON

SN: 13955-UP

1шт.

8

6211-11-4321

CONNECTOR,AIR

SN: 14299-UP

1шт.

9

07042-00108

PLUG

SN: 13955-UP

1шт.

10

6211-11-4820

GASKET (K1)

SN: 13955-UP

2шт.

11

6150-81-9140

BOLT

SN: 13955-UP

5шт.

12

6210-81-8170

BOLT

SN: 13955-UP

1шт.

13

01641-21016

WASHER

SN: 13955-UP

6шт.

14

6211-11-4410

CONNECTOR

SN: 13955-UP

1шт.

15

02895-67075

O-RING (K1)

SN: 13955-UP

4шт.

16

600-815-2170

SWITCH,HEATER

SN: 13955-UP

1шт.

17

01010-50610

BOLT

SN: 13955-UP

2шт.

18

01640-20610

WASHER

SN: 13955-UP

2шт.

19

6211-81-4330

PLATE

SN: 13955-UP

1шт.

20

6151-81-4430

WIRE¤ 400MM

SN: 13955-UP

1шт.

21

08038-00519

CAP

SN: 16568-UP

2шт.

|21

0

CAP

SN: 13955-16567

1шт.

22

6150-61-6370

BRACKET

SN: 15299-UP

1шт.

23

08036-30814

CLIP

SN: 15299-UP

1шт.

24

01010-51020

BOLT

SN: 15299-UP

2шт.

25

01584-01008

NUT

SN: 15299-UP

1шт.

26

01640-21016

WASHER

SN: 15299-UP

3шт.

Выбрано товаров: 27